Product Summary
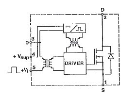
The SKM151R is a single switch power MOSFET module with built-in driver circuit. The applications of the SKM151R include Dc choppers, AC motor drivers, power supplies for LASERs, uninterruptible power supplies, ultrasonic generator , plasma cutting , inductive heating, electronic welding.
Parametrics
SKM151R absolute maximum raatings: (1)Driver supply voltage, Vsup: 18V; (2)Input signal voltage, VJ: -0.3 to Vsup+0.3V; (3)Input-output, 2500V~; (4)Case temperature, Tcase: -40 to +85℃; (5)Storage temperature, Tstg: -40 to +85℃.
Features
SKM151R features: (1)Internal isolation between input and output stages; (2)The power supply for the driver must not be isolated ; (3)CMOS compatible input.
Diagrams

(Hong Kong)






