Product Summary
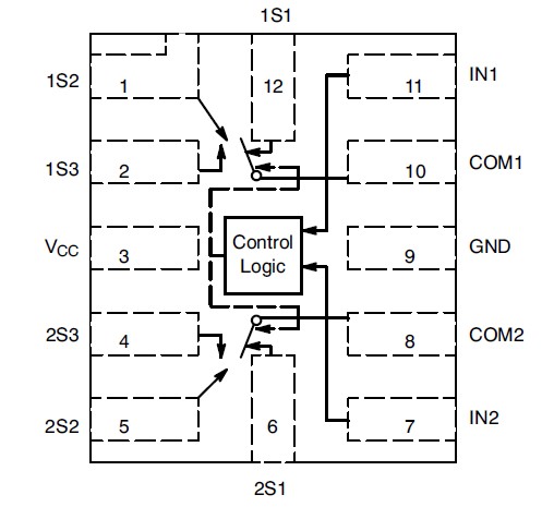
The NLAS8252MUTAG is a DP3T switch for combined UART and USB 2.0 full speed data applications. It allows portable systems to use a single external port to transmit and receive signals to and from three separate locations within the portable system. The NLAS8252MUTAG is comprised of two switches, each with a single common I/O that alternates between 3 terminals. Applications are (1)USB/UART/Data Multiplexing; (2)Shared USB Connector; (3)Mobile Phones; (4)Portable Devices.
Parametrics
NLAS8252MUTAG absolute maximum ratings: (1)Positive DC Supply Voltage: -0.5 to +5.5 V; (2)Analog Signal Voltage: -0.5 to VCC + 0.3 V; (3)Control Input Voltage: -0.5 to 4.6 V; (4)Positive DC Supply Current: 50 mA; (5)Analog Signal Continuous Current: ±300 mA; (6)Analog Signal Peak Current: ±500 mA; (7)Control Input Current: ±20 mA; (8)Storage Temperature Range: -65 to 150 °C.
Features
NLAS8252MUTAG features: (1)RON: 4 Ω Max VCC = 4.2 V; (2)CON: < 20 pF VCC = 3.3 V; (3)OVT Protection up to 5.25 V on Common Pins; (4)VCC Range: 1.65 V to 4.5 V; (5)3 kV ESD Protection; (6)1.7 x 2.0 x 0.5 mm UQFN12 Package; (7)This is a Pb-Free Device.
Diagrams

| Image | Part No | Mfg | Description | ![]() |
Pricing (USD) |
Quantity | ||||||||||||
|---|---|---|---|---|---|---|---|---|---|---|---|---|---|---|---|---|---|---|
![]() |
![]() NLAS8252MUTAG |
![]() ON Semiconductor |
![]() Analog Switch ICs DP3T SWITCH |
![]() Data Sheet |
![]()
|
|
||||||||||||
| Image | Part No | Mfg | Description | ![]() |
Pricing (USD) |
Quantity | ||||||||||||
![]() |
![]() NLAS1053 |
![]() Other |
![]() |
![]() Data Sheet |
![]() Negotiable |
|
||||||||||||
![]() |
![]() NLAS1053US |
![]() ON Semiconductor |
![]() Multiplexer Switch ICs 2:1 Mux/Demux Switch |
![]() Data Sheet |
![]() Negotiable |
|
||||||||||||
![]() |
![]() NLAS1053USG |
![]() ON Semiconductor |
![]() Multiplexer Switch ICs 2:1 Mux/Demux Switch -55 to 125deg C |
![]() Data Sheet |
![]()
|
|
||||||||||||
![]() |
![]() NLAS2066 |
![]() Other |
![]() |
![]() Data Sheet |
![]() Negotiable |
|
||||||||||||
![]() |
![]() NLAS2066US |
![]() ON Semiconductor |
![]() Analog Switch ICs Dual SPST Sw. w/OVT |
![]() Data Sheet |
![]() Negotiable |
|
||||||||||||
![]() |
![]() NLAS2066USG |
![]() ON Semiconductor |
![]() Analog Switch ICs Dual SPST Sw. w/OVT Input -55 to 125 CEL |
![]() Data Sheet |
![]()
|
|
||||||||||||
(Hong Kong)










