Product Summary
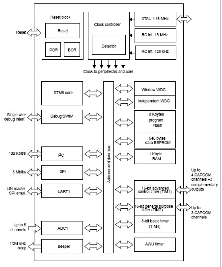
The STM8S103F3P6 is an access line 8-bit microcontroller offering 8 Kbytes Flash program memory, plus integrated true data EEPROM. The STM8S103F3P6 references manual (RM0016) refers to devices in this family as low-density. The STM8S103F3P6 provides the following benefits: Reduced system cost, Performance and robustness, Full documentation and a wide choice of development tools, advanced core and peripherals made in a state-of-the art technology.
Parametrics
STM8S103F3P6 absolute maximum ratings: (1)VDDx - VSS Supply voltage(1): -0.3 to 6.5V; (2)VIN Input voltage on true open drain pins(2): VSS - 0.3 to 6.5V; (3)Input voltage on any other pin(2): VSS - 0.3 to VDD + 0.3V; (4)|VDDx - VDD| Variations between different power pins 50mV; (5)Variations between all the different ground 50mV.
Features
STM8S103F3P6 features: (1)16 MHz advanced STM8 core with Harvard architecture and 3-stage pipeline; (2)Extended instruction set; (3)2.95 to 5.5 V operating voltage; (4)Clock security system with clock monitor; (5)Nested interrupt controller with 32 interrupts; (6)Up to 27 external interrupts on 6 vectors; (7)Advanced control timer: 16-bit, 4 CAPCOM channels, 3 complementary outputs, dead-time insertion and flexible synchronization; (8)16-bit general purpose timer, with 3 CAPCOM channels (IC, OC or PWM); (9)8-bit basic timer with 8-bit prescaler; (10)Auto wake-up timer Window watchdog and independent watchdog timers.
Diagrams

| Image | Part No | Mfg | Description | ![]() |
Pricing (USD) |
Quantity | ||||||||||||
|---|---|---|---|---|---|---|---|---|---|---|---|---|---|---|---|---|---|---|
![]() |
![]() STM8S103F3P6 |
![]() STMicroelectronics |
![]() 8-bit Microcontrollers (MCU) Access Line 16 MHz 8-bit MCU 32 Kbyt |
![]() Data Sheet |
![]()
|
|
||||||||||||
![]() |
![]() STM8S103F3P6TR |
![]() STMicroelectronics |
![]() 8-bit Microcontrollers (MCU) Access line MCU 8Kbyt 16 MHz |
![]() Data Sheet |
![]()
|
|
||||||||||||
(Hong Kong)









