Product Summary
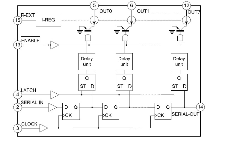
The SD16730 is a special constant current driver for LED display application. The value of constant current can be determined with external resistor. The SD16730 bases on BICMOS technology and includes an 8-bit shift register. Latch and constant current driver. At the output stage, there are eight regulated current sources which provide 2-80mA constant current for driving LEDs by Bipolar Junction Transistor.
Parametrics
SD16730 absolute maximum ratings: (1)Supply Voltage VDD: 6 V; (2)Input Voltage VIN: -0.2~VDD-0.2 V; (3)Output Current IOUT: 90 mA/ch; (4)Output Voltage VOUT: -0.2~ 17 V; (5)Power Dissipation PD1: 1.25 W; (6)Storage Temperature Tstg: -55~+150 ℃; (7)Operating Temperature Topr: -40 ~ 85 ℃.
Features
SD16730 features: (1)Output current adjustable through an external resistor; (2)Serial data in/out; (3)8 constant-current output channels; (4)Output current: 2-80mA; (5)20MHz clock frequency; (6)Current accuracy (All output ON).
Diagrams

(Hong Kong)






