Product Summary
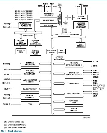
The LPC2132FBD64/01 is a Single-chip 16/32-bit microcontroller. The LPC2132FBD64/01 is based on a 16/32-bit ARM7TDMI-S CPU with real-time emulation and embedded trace support, that combine the microcontroller with 32 kB, 64 kB, 128 kB, 256 kB and 512 kB of embedded high-speed flash memory. A 128-bit wide memory interface and a unique accelerator architecture enable 32-bit code execution at maximum clock rate. For critical code size applications, the alternative 16-bit Thumb mode reduces code by more than 30 % with minimal performance penalty. Due to their tiny size and low power consumption, the LPC2132FBD64/01 is ideal for applications where miniaturization is a key requirement, such as access control and point-of-sale. With a wide range of serial communications interfaces and on-chip SRAM options of 8 kB, 16 kB, and 32 kB, it is very well suited for communication gateways and protocol converters, soft modems, voice recognition and low-end imaging, providing both large buffer size and high processing power. Various 32-bit timers, single or dual 10-bit 8-channel ADC(s), 10-bit DAC, PWM channels and 47 GPIO lines with up to nine edge or level sensitive external interrupt pins make these microcontrollers particularly suitable for industrial control and medical systems.
Parametrics
LPC2132FBD64/01 absolute maximum ratings: (1)supply voltage (core and external rail): -0.5 to +3.6 V; (2)analog 3.3 V pad supply voltage: -0.5 to +4.6 V; (3)input voltage on pin VBAT: -0.5 to +4.6 V; (4)input voltage on pin VREF: -0.5 to +4.6 V; (5)analog input voltage: -0.5 to +5.1 V; (6)input voltage: -0.5 to +6.0 V; (7)supply current: 100 mA; (8)ground current: 100 mA; (9)storage temperature: -40 to +125 ℃; (10)total power dissipation (per package): 1.5 W.
Features
LPC2132FBD64/01 features: (1)One (LPC2131/32) or two (LPC2134/36/38) 8-channel 10-bit ADCs provide a total of up to 16 analog inputs, with conversion times as low as 2.44 ms per channel; (2)Single 10-bit DAC provides variable analog output(LPC2132/34/36/38); (3)Two 32-bit timers/external event counters (with four capture and four compare channels each), PWM unit (six outputs) and watchdog; (4)Low power Real-time clock with independent power and dedicated 32 kHz clock input; (5)Multiple serial interfaces including two UARTs (16C550), two Fast I2C-bus (400 kbit/s), SPI and SSP with buffering and variable data length capabilities.; (6)Vectored interrupt controller with configurable priorities and vector addresses; (7)Up to forty-seven 5 V tolerant general purpose I/O pins in tiny LQFP64 or HVQFN package; (8)Up to nine edge or level sensitive external interrupt pins available; (9)60 MHz maximum CPU clock available from programmable on-chip PLL with settling time of 100 ms; (10)On-chip integrated oscillator operates with external crystal in range of 1 MHz to 30 MHz and with external oscillator up to 50 MHz; (11)Power saving modes include Idle and Power-down.; (12)Individual enable/disable of peripheral functions as well as peripheral clock scaling down for additional power optimization; (13)Processor wake-up from Power-down mode via external interrupt or BOD.
Diagrams

| Image | Part No | Mfg | Description | ![]() |
Pricing (USD) |
Quantity | ||||||||||||
|---|---|---|---|---|---|---|---|---|---|---|---|---|---|---|---|---|---|---|
![]() |
![]() LPC2132FBD64/01,11 |
![]() NXP Semiconductors |
![]() ARM Microcontrollers (MCU) 64K FL/16K RAM 10BIT ADC/DAC |
![]() Data Sheet |
![]()
|
|
||||||||||||
![]() |
![]() LPC2132FBD64/01,15 |
![]() NXP Semiconductors |
![]() ARM Microcontrollers (MCU) ARM7 64KF/16KR/ADC |
![]() Data Sheet |
![]()
|
|
||||||||||||
(Hong Kong)










