Product Summary
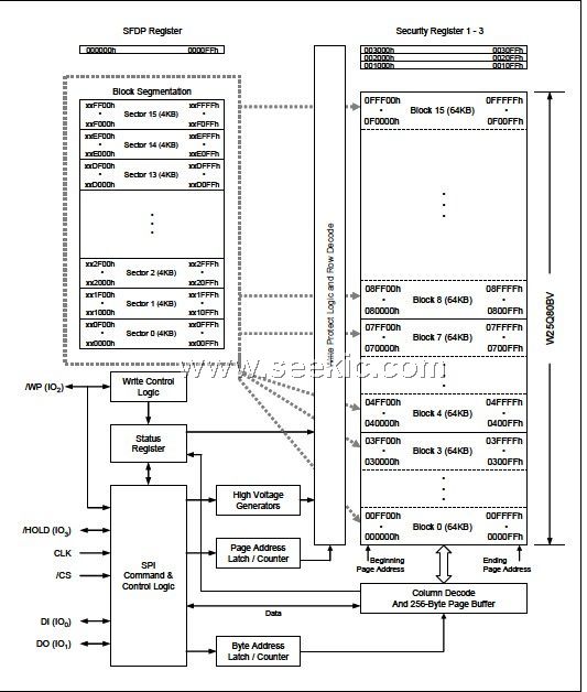
The W25Q80BV (8M-bit) Serial Flash memory provides a storage solution for systems with limited space,
pins and power. The 25Q series offers flexibility and performance well beyond ordinary Serial Flash
devices. They are ideal for code shadowing to RAM, executing code directly from Dual/Quad SPI (XIP)
and storing voice, text and data. The device operates on a single 2.7V to 3.6V power supply with current
consumption as low as 4mA active and 1μA for power-down.
Features
The W25Q80BV (8M-bit) Serial Flash memory provides a storage solution for systems with limited space,
pins and power. The 25Q series offers flexibility and performance well beyond ordinary Serial Flash
devices. They are ideal for code shadowing to RAM, executing code directly from Dual/Quad SPI (XIP)
and storing voice, text and data. The device operates on a single 2.7V to 3.6V power supply with current
consumption as low as 4mA active and 1μA for power-down.
Diagrams

| Image | Part No | Mfg | Description | ![]() |
Pricing (USD) |
Quantity | ||||||||||||||||||||||
|---|---|---|---|---|---|---|---|---|---|---|---|---|---|---|---|---|---|---|---|---|---|---|---|---|---|---|---|---|
![]() |
![]() W25Q80BVSSIG |
![]() |
![]() IC FLASH 8MBIT 8SOIC |
![]() Data Sheet |
![]()
|
|
||||||||||||||||||||||
| Image | Part No | Mfg | Description | ![]() |
Pricing (USD) |
Quantity | ||||||||||||||||||||||
![]() |
![]() W25Q128BVEIG |
![]() |
![]() IC SPI FLASH 128MBIT 8WSON |
![]() Data Sheet |
![]() Negotiable |
|
||||||||||||||||||||||
![]() |
![]() W25Q128FVEIG |
![]() |
![]() IC FLASH SPI 128MBIT 8WSON |
![]() Data Sheet |
![]()
|
|
||||||||||||||||||||||
![]() |
![]() W25Q128FVFIG |
![]() |
![]() IC FLASH SPI 128MBIT 16SOIC |
![]() Data Sheet |
![]()
|
|
||||||||||||||||||||||
![]() |
![]() W25Q128FVSIG |
![]() |
![]() IC FLASH SPI 128MBIT 8SOIC |
![]() Data Sheet |
![]()
|
|
||||||||||||||||||||||
![]() |
![]() W25Q16BVSFIG |
![]() |
![]() IC SPI FLASH 16MBIT 16SOIC |
![]() Data Sheet |
![]()
|
|
||||||||||||||||||||||
![]() |
![]() W25Q16BVSSIG |
![]() |
![]() IC SPI FLASH 16MBIT 8SOIC |
![]() Data Sheet |
![]()
|
|
||||||||||||||||||||||
(Hong Kong)










