Product Summary
The W25Q64BVSIG is a 64M-bit serial flash memory with dual and quad SPI. The W25Q64BVSIG provides a storage solution for systems with limited space, pins and power. The 25Q series offers flexibility and performance well beyond ordinary Serial Flash devices. They are ideal for code shadowing to RAM, executing code directly from Dual/Quad SPI (XIP) and storing voice, text and data. The W25Q64BVSIG operates on a single 2.7V to 3.6V power supply with current consumption as low as 4mA active and 1μA for power-down. All devices are offered in spacesaving packages.
Parametrics
W25Q64BVSIG absolute maximum ratings: (1)Supply Voltage VCC: –0.6 to +4.0 V; (2)Voltage Applied to Any Pin VIO Relative to Ground:–0.6 to VCC+0.4 V; (3)Transient Voltage on any Pin VIOT <20nS Transient Relative to Ground: –2.0V to VCC+2.0V V; (4)Storage Temperature TSTG: –65 to +150℃; (5)Lead Temperature TLEAD: See Note (2)℃; (6)Electrostatic Discharge Voltage VESD Human Body Model(3) :–2000 to +2000 V.
Features
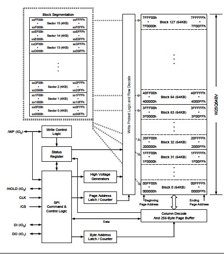
W25Q64BVSIG features: (1)Family of SpiFlash Memories; (2)Standard, Dual or Quad SPI; (3)Highest Performance Serial Flash; (4)Efficient "Continuous Read Mode"; (5)Low Power, Wide Temperature Range; (6)Flexible Architecture with 4KB sectors; (7)Advanced Security Features; (8)Space Efficient Packaging.
Diagrams

(Hong Kong)






