Product Summary
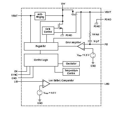
The TPS61090RSAR is a synchronous boost converter with 2A switch. The TPS61090RSAR provides a power supply solution for products powered by either a one-cell Li-Ion or Li-polymer, or a two-cell alkaline, NiCd or NiMH battery and required supply currents up to or higher than 1 A. The converter generates a stable output voltage that is either adjusted by an external resistor divider or fixed internally on the chip. It provides high efficient power conversion and is capable of delivering output currents up to 0.5A at 5V at a supply voltage down to 1.8V. The implemented boost converter is based on a fixed frequency, pulse-width- modulation (PWM) controller using a synchronous rectifier to obtain maximum efficiency. Boost switch and rectifier switch are connected internally to provide the lowest leakage inductance and best EMI behavior possible. The maximum peak current in the boost switch is limited to a value of 2500 mA. Applications are: (1)all single cell li or dual cell battery, or usbpowered operated products as mp-3 player,pdas, and other portable equipment.
Parametrics
TPS61090RSAR absolute maximum ratings: (1)Input voltage range on LBI: -0.3 V to 3.6 V; (2)Input voltage range on SW, VOUT, LBO, VBAT, SYNC, EN, FB: -0.3 V to 7 V; (3)Operating free air temperature range TA: -40℃ to 85℃; (4)Maximum junction temperature TJ: 150℃; (5)Storage temperature range Tstg: -65℃ to 150℃.
Features
TPS61090RSAR features: (1)Synchronous (96% Efficient) Boost Converter With 500-mA Output Current From 1.8-V Input; (2)Available in a 16-Pin QFN 4×4 Package; (3)Device Quiescent Current: 20-μA (Typ); (4)Input Voltage Range: 1.8-V to 5.5-V; (5)Adjustable Output Voltage Up to 5.5-V Fixed Output Voltage Options; (6)Power Save Mode for Improved Efficiency at Low Output Power; (7)Low Battery Comparator; (8)Low EMI-Converter (Integrated Antiringing Switch); (9)Load Disconnect During Shutdown; (10)Over-Temperature Protection.
Diagrams

| Image | Part No | Mfg | Description | ![]() |
Pricing (USD) |
Quantity | ||||||||
|---|---|---|---|---|---|---|---|---|---|---|---|---|---|---|
![]() |
![]() TPS61090RSAR |
![]() Texas Instruments |
![]() DC/DC Switching Regulators Adj 500-mA 96% Eff Boost Converter |
![]() Data Sheet |
![]()
|
|
||||||||
![]() |
![]() TPS61090RSARG4 |
![]() Texas Instruments |
![]() DC/DC Switching Regulators Adj 500-mA 96% Eff Boost Converter |
![]() Data Sheet |
![]()
|
|
||||||||
(Hong Kong)









