Product Summary
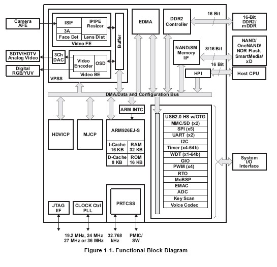
The TMS320DM365ZCE30 is a Digital Media System-on-Chip. Developers can now deliver pixel-perfect images at up to 720p H.264 at 30fps in their digital video designs without concerns of video format support, constrained network bandwidth, limited system storage capacity or cost with the TMS320DM365ZCE30 digital media processor based on DaVinci technology from Texas Instruments Incorporated (TI). With multi-format HD video, the TMS320DM365ZCE30 also features a suite of peripherals saving developers on system costs.
Parametrics
TMS320DM365ZCE30 absolute maximum ratings: (1)All 1.2-V / 1.35-V supplies: -0.3 V to 1.6 V; (2)Supply voltage ranges All 1.8 V supplies: -0.3 V to 2.45 V; (3)All 3.3 V supplies: -0.3 V to 3.8 V; (4)All 1.8 V I/Os: -0.5 V to 2.6 V; (5)Input voltage ranges All 3.3 V I/Os: -0.5 V to 3.8 V; (6)USB_VBUS: 0 V to 5.5 V; (7)Commercial Temperature Tc: 0 to 85℃; (8)Operating case temperature ranges Extended Temperature [D version devices] Tc: -40 to 85℃; (9)Storage temperature ranges Tstg: -55 to 150℃.
Features
TMS320DM365ZCE30 features: (1)High-Performance Digital Media System-on-Chip (DMSoC); (2)Up to 300-MHz ARM926EJ-S Clock Rate; (3)Two Video Image Co-processors; (4)Video Processing Subsystem; (5)ARM9 Memory Architecture; (6)Two Video Image Co-processors (HDVICP, MJCP) Engines; (7)IPIPE Interface (IPIPEIF); (8)16-Bit Parallel AFE (Analog Front End) Interface Up to 120 MHz; (9)Glueless Interface to Common Video Decoders; (10)Analog-to-Digital Convertor (ADC); (11)Four Pulse Width Modulator (PWM) Outputs; (12)Four RTO (Real Time Out) Outputs; (13)3.3-V and 1.8-V I/O, 1.2-V/ 1.35-V Internal.
Diagrams

| Image | Part No | Mfg | Description | ![]() |
Pricing (USD) |
Quantity | ||||||||||||
|---|---|---|---|---|---|---|---|---|---|---|---|---|---|---|---|---|---|---|
![]() |
![]() TMS320DM365ZCE30 |
![]() Texas Instruments |
![]() Digital Signal Processors & Controllers (DSP, DSC) Dig Media System- on-Chip |
![]() Data Sheet |
![]()
|
|
||||||||||||
| Image | Part No | Mfg | Description | ![]() |
Pricing (USD) |
Quantity | ||||||||||||
![]() |
![]() TMS3112 |
![]() Other |
![]() |
![]() Data Sheet |
![]() Negotiable |
|
||||||||||||
![]() |
![]() TMS3121 |
![]() Other |
![]() |
![]() Data Sheet |
![]() Negotiable |
|
||||||||||||
![]() |
![]() TMS320 |
![]() Other |
![]() |
![]() Data Sheet |
![]() Negotiable |
|
||||||||||||
![]() |
![]() TMS32010 |
![]() Other |
![]() |
![]() Data Sheet |
![]() Negotiable |
|
||||||||||||
![]() |
![]() TMS320AV7110 |
![]() Other |
![]() |
![]() Data Sheet |
![]() Negotiable |
|
||||||||||||
![]() |
![]() TMS320BC51PQ100 |
![]() Texas Instruments |
![]() Digital Signal Processors & Controllers (DSP, DSC) TMS320C51PQ - 132QFP - 100MHZ/BOOT CODE |
![]() Data Sheet |
![]() Negotiable |
|
||||||||||||
(Hong Kong)










