Product Summary
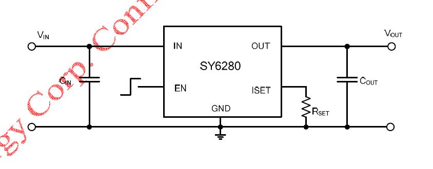
The SY6280 is a ultra-low Rds(on) switch with programmable current limiting to protect the power source from over current and short circuit conditions. It integrates the over temperature protection and discharges the output capacitor during the shutdown. In case the output is pulled higher than the input voltage under the shutdown, the SY6280 can block the current flowing from the output to the input. The applications of the SY6280 include USB 3G Datacard, USB Dongle, MiniPCI Accessories.
Parametrics
SY6280 absolute maximum ratings: (1)All pins: 6V; (2)Power Dissipation, PD @ TA = 25℃ SOT23-5: 0.6W; (3)Package Thermal Resistance (Note 2), θ JA: 200℃/W; θ JC: 130℃/W; (4)Junction Temperature Range: 150℃; (5)Lead Temperature (Soldering, 10 sec.): 260℃; (6)Storage Temperature Range: -65℃ to 150℃; (7)ESD Susceptibility (Note 2), HBM (Human Body Mode): 2kV; MM (Machine Mode): 200V.
Features
SY6280 features: (1)Distribution voltages: 2.4V to 5.5V; (2)Programmable current limit; (3)Enable polarity: active high; (4)Over temperature shutdown and automatic retry; (5)Reverse blocking (no body diode); (6)At shutdown, OUT can be forced higher than IN; (7)Automatic output discharge at shutdown; (8)Compact SOT23 packages minimize the board space.
Diagrams

(Hong Kong)






