Product Summary
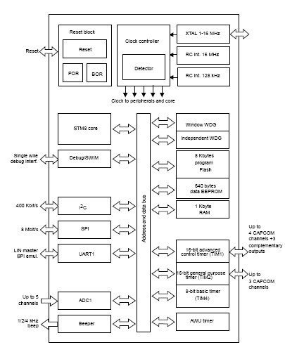
The STM8S103K3T6C is an Analog to Digital Converter. The STM8S103K3T6C access line 8-bit microcontrollers offer 8 Kbytes Flash program memory, plus integrated true data EEPROM. The STM8S microcontroller family reference manual (RM0016) refers to devices in this family as low-density. They provide the following benefits: performance, robustness, and reduced system cost. Device performance and robustness are ensured by advanced core and peripherals made in a state-of-the art technology, a 16 MHz clock frequency, robust I/Os, independent watchdogs with separate clock source, and a clock security system.
Parametrics
STM8S103K3T6C absolute maximum ratings: (1)Supply voltage: -0.3 to 6.5 V; (2)Input voltage on true open drain pins: VSS - 0.3 to 6.5 V; (3)Input voltage on any other pin: VSS - 0.3 to VDD + 0.3; (4)Variations between different power pins : 50 mV.
Features
STM8S103K3T6C features: (1)16 MHz advanced STM8 core with Harvard architecture and 3-stage pipeline ; (2)Extended instruction set; (3)Program memory: 8 Kbytes Flash; data retention 20 years at 55 ℃ after 10 kcycles ; (4)Data memory: 640 bytes true data EEPROM; endurance 300 kcycles RAM: 1 Kbytes.
Diagrams

| Image | Part No | Mfg | Description | ![]() |
Pricing (USD) |
Quantity | ||||||||||||
|---|---|---|---|---|---|---|---|---|---|---|---|---|---|---|---|---|---|---|
![]() |
![]() STM8S103K3T6C |
![]() STMicroelectronics |
![]() 8-bit Microcontrollers (MCU) Access Line 16 MHz 8-bit MCU 32 Kbyt |
![]() Data Sheet |
![]()
|
|
||||||||||||
![]() |
![]() STM8S103K3T6CTR |
![]() STMicroelectronics |
![]() 8-bit Microcontrollers (MCU) Access line MCU 8Kbyt 16 MHz |
![]() Data Sheet |
![]()
|
|
||||||||||||
(Hong Kong)









