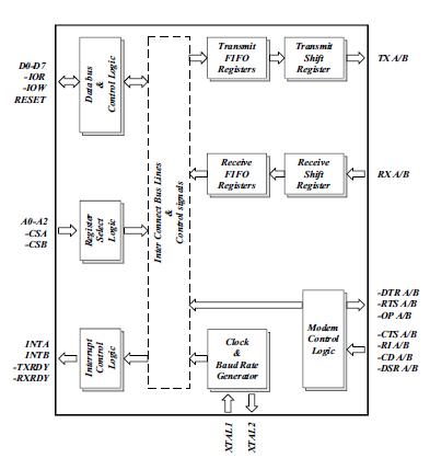
Product Summary
The ST16C2550CJ44-F is a dual universal asynchronous receiver and transmitter (UART). The ST16C2550CJ44-F is an improved version of the NS16C550 UART with higher operating speed and lower access time. The ST16C2550CJ44-F provides enhanced UART functions with 16 byte FIFO.s, a modem control interface, and data rates up to 1.5Mbps. Onboard status registers provide the user with error indications and operational status. System interrupts and modem control features may be tailored by external software to meet specific user requirements.
Parametrics
ST16C2550CJ44-F absolute maximum ratings: (1)Supply range: 7 Volts; (2)Voltage at any pin GND: -0.3 V to VCC +0.3 V; (3)Operating temperature: -40℃ to +85℃; (4)Storage temperature: -65℃ to 150℃; (5)Package dissipation: 500 mW.
Features
ST16C2550CJ44-F features: (1)Pin and functionally compatible to ST16C2450/Software compatible with INS8250, NS16C550; (2)1.5Mbps transmit/receive operation (24MHz Max.); (3)16 byte transmit FIFO to reduce the bandwidth requirement of the external CPU.; (4)16 byte receive FIFO with error flags to reduce the bandwidth requirement of the external CPU.; (5)Independent transmit and receive UART control; (6)Four selectable Receive FIFO interrupt trigger levels; (7)Modem control signals (-CTS, -RTS, -DSR, -DTR, -RI, -CD, and Software controllable line break); (8)Programmable character lengths (5, 6, 7, 8) with Even, odd, or no parity; (9)Status report register; (10)Crystal or external clock input; (11)460.8 Kbps transmit/receive operation with 7.3728MHz crystal or external clock source; (12)TTL compatible inputs, outputs.
Diagrams

| Image | Part No | Mfg | Description | ![]() |
Pricing (USD) |
Quantity | ||||||||||||
|---|---|---|---|---|---|---|---|---|---|---|---|---|---|---|---|---|---|---|
![]() |
![]() ST16C2550CJ44-F |
![]() Exar |
![]() UART Interface IC 2.97V-5.5V 16B FIFO temp 0C to 70C; UART |
![]() Data Sheet |
![]()
|
|
||||||||||||
| Image | Part No | Mfg | Description | ![]() |
Pricing (USD) |
Quantity | ||||||||||||
![]() |
![]() ST161208SS |
![]() Hammond Manufacturing |
![]() Enclosures, Boxes, & Cases |
![]() Data Sheet |
![]() Negotiable |
|
||||||||||||
![]() |
![]() ST16126LG |
![]() Hammond Manufacturing |
![]() Enclosures, Boxes, & Cases |
![]() Data Sheet |
![]() Negotiable |
|
||||||||||||
![]() |
![]() ST161608SS |
![]() Hammond Manufacturing |
![]() Enclosures, Boxes, & Cases |
![]() Data Sheet |
![]() Negotiable |
|
||||||||||||
![]() |
![]() ST16168LG |
![]() Hammond Manufacturing |
![]() Enclosures, Boxes, & Cases |
![]() Data Sheet |
![]() Negotiable |
|
||||||||||||
![]() |
![]() ST16-19HDS |
![]() Other |
![]() |
![]() Data Sheet |
![]() Negotiable |
|
||||||||||||
![]() |
![]() ST16-19HDSE |
![]() Other |
![]() |
![]() Data Sheet |
![]() Negotiable |
|
||||||||||||
(Hong Kong)










