Product Summary
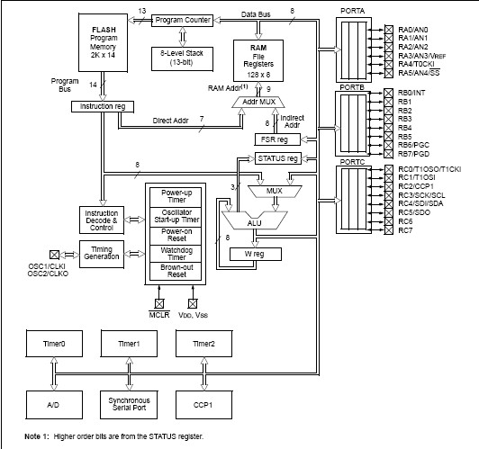
The PIC16F72-I/SP is a CMOS FLASH Microcontroller. Additional information may be found in the Mid-Range MCU Reference Manual (DS33023), which may be downloaded from the Microchip website. The Reference Manual should be considered a complementary document to this data sheet, and is highly recommended reading for a better understanding of the device architecture and operation of the peripheral modules. The PIC16F72-I/SP belongs to the Mid-Range family of the PICmicro devices.
Parametrics
PIC16F72-I/SP absolute maximum ratings: (1)Ambient temperature under bias: -55 to +125℃; (2)Storage temperature: -65℃ to +150℃; (3)Voltage on any pin with respect to VSS (except VDD, MCLR. and RA4): -0.3V to (VDD + 0.3V); (4)Voltage on VDD with respect to VSS: -0.3 to +6.5V; (5)Voltage on MCLR with respect to VSS: 0 to +13.5V; (6)Voltage on RA4 with respect to Vss: 0 to +12V; (7)Total power dissipation: 1.0W; (8)Maximum current out of VSS pin: 300 mA; (9)Maximum current into VDD pin: 250 mA; (10)Input clamp current: ± 20 mA; (11)Output clamp current: ± 20 mA; (12)Maximum output current sunk by any I/O pin: 25 mA; (13)Maximum output current sourced by any I/O pin: 25 mA; (14)Maximum current sunk by PORTA, PORTB: 200 mA; (15)Maximum current sourced by PORTA, PORTB: 200 mA; (16)Maximum current sunk by PORTC: 200 mA; (17)Maximum current sourced by PORTC: 200 mA.
Features
PIC16F72-I/SP features: (1)1,000 erase/write cycle FLASH program memory typical; (2)Power-on Reset (POR), Power-up Timer (PWRT) and Oscillator Start-up Timer (OST); (3)Watchdog Timer (WDT) with its own on-chip RC oscillator for reliable operation; (4)Programmable code protection; (5)Power saving SLEEP mode; (6)Selectable oscillator options; (7)Processor read access to program memory.
Diagrams

| Image | Part No | Mfg | Description | ![]() |
Pricing (USD) |
Quantity | ||||||||||||
|---|---|---|---|---|---|---|---|---|---|---|---|---|---|---|---|---|---|---|
![]() |
![]() PIC16F72-I/SP |
![]() Microchip Technology |
![]() 8-bit Microcontrollers (MCU) 3.5KB 128 RAM 22 I/O |
![]() Data Sheet |
![]()
|
|
||||||||||||
![]() |
![]() PIC16F72-I/SP(-I/P) |
![]() Other |
![]() |
![]() Data Sheet |
![]() Negotiable |
|
||||||||||||
![]() |
![]() PIC16F72-I/SP4AP |
![]() Other |
![]() |
![]() Data Sheet |
![]() Negotiable |
|
||||||||||||
![]() |
![]() PIC16F72-I/SPREL |
![]() Other |
![]() |
![]() Data Sheet |
![]() Negotiable |
|
||||||||||||
(Hong Kong)










