Product Summary
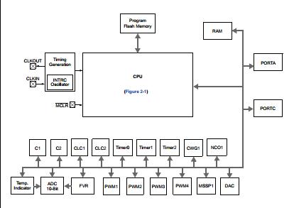
The PIC16F1503-I/MG is a 14-Pin Flash, 8-Bit Microcontroller. It contains an enhanced mid-range 8-bit CPU core. The CPU has 49 instructions. Interrupt capability includes automatic context saving. The hardware stack is 16 levels deep and has Overflow and Underflow Reset capability. Direct, Indirect, and Relative addressing modes are available. Two File Select Registers (FSRs) provide the ability to read program and data memory.It is available in 14 pin packages.
Parametrics
PIC16F1503-I/MG absolute maximum ratings: (1)Ambient temperature under bias: -40℃ to +125℃; (2)Storage temperature : -65℃ to +150℃; (3)Voltage on VDD with respect to VSS: -0.3V to +6.5V; (4)Voltage on VDD with respect to VSS: -0.3V to +4.0V; (5)Voltage on MCLR with respect to Vss: -0.3V to +9.0V; (6)Voltage on all other pins with respect to VSS: -0.3V to (VDD + 0.3V); (7)Total power dissipation: 800 mW; (8)Maximum output current sunk by any I/O pin: 25 mA; (9)Maximum output current sourced by any I/O pin: 25 mA.
Features
PIC16F1503-I/MG features: (1)High-Performance RISC CPU; (2)Low-Power Features; (3)Flexible Oscillator Structure; (4)Power-on Reset (POR); (5)Power-up Timer (PWRT); (6)Programmable Low-Power Brown-Out Reset (LPBOR); (7)Extended Watchdog Timer (WDT); (8)Programmable Code Protection; (9)Integrated Temperature Indicator; (10)Analog-to-Digital Converter; (11)2 Comparators; (12)Voltage Reference module; (13)Timer0: 8-Bit Timer/Counter with 8-Bit Programmable Prescaler.
Diagrams

| Image | Part No | Mfg | Description | ![]() |
Pricing (USD) |
Quantity | ||||||||||||
|---|---|---|---|---|---|---|---|---|---|---|---|---|---|---|---|---|---|---|
![]() |
![]() PIC16F1503-I/MG |
![]() Microchip Technology |
![]() 8-bit Microcontrollers (MCU) 3.5KB FL 128B RAM 12I/O 10-bit ADC |
![]() Data Sheet |
![]()
|
|
||||||||||||
| Image | Part No | Mfg | Description | ![]() |
Pricing (USD) |
Quantity | ||||||||||||
![]() |
![]() PIC1018SCL |
![]() Other |
![]() |
![]() Data Sheet |
![]() Negotiable |
|
||||||||||||
![]() |
![]() PIC10F200 |
![]() Other |
![]() |
![]() Data Sheet |
![]() Negotiable |
|
||||||||||||
![]() |
![]() PIC10F200-E/MC |
![]() Microchip Technology |
![]() 8-bit Microcontrollers (MCU) 384B Flash16B RAM 4 I/O |
![]() Data Sheet |
![]()
|
|
||||||||||||
![]() |
![]() PIC10F200-E/OT |
![]() Other |
![]() |
![]() Data Sheet |
![]() Negotiable |
|
||||||||||||
![]() |
![]() PIC10F200-E/P |
![]() Microchip Technology |
![]() 8-bit Microcontrollers (MCU) U 579-PIC10F200-I/P |
![]() Data Sheet |
![]() Negotiable |
|
||||||||||||
![]() |
![]() PIC10F200-I/MC |
![]() Microchip Technology |
![]() 8-bit Microcontrollers (MCU) 0.375KB Fl 16B RAM |
![]() Data Sheet |
![]()
|
|
||||||||||||
(Hong Kong)










