Product Summary
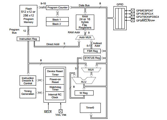
The PIC10F202T-I/OT is a low-cost, high-performance, 8-bit, fullystatic, Flash-based CMOS microcontroller. It employs a RISC architecture with only 33 single-word/single-cycle instructions. All instructions are single cycle (1 μs) except for program branches, which take two cycles. The PIC10F202T-I/OT delivers performance in an order of magnitude higher than their competitors in the same price category. The 12-bit wide instructions are highly symmetrical, resulting in a typical 2:1 code compression over other 8-bit microcontrollers in its class. The easy-to-use and easy to remember instruction set reduces development time significantly.
Parametrics
PIC10F202T-I/OT absolute maximum ratings: (1)Ambient temperature under bias: -40℃ to +125℃; (2)Storage temperature: -65℃ to +150℃; (3)Voltage on VDD with respect to VSS: 0 to +6.5V; (4)Voltage on MCLR with respect to VSS: 0 to +13.5V; (5)Voltage on all other pins with respect to VSS: -0.3V to (VDD + 0.3V); (6)Total power dissipation: 800 mW; (7)Max. current out of VSS pin: 80 mA; (8)Max. current into VDD pin: 80 mA; (9)Input clamp current: ±20 mA; (10)Output clamp current: ±20 mA; (11)Max. output current sunk by any I/O pin: 25 mA; (12)Max. output current sourced by any I/O pin: 25 mA; (13)Max. output current sourced by I/O port: 75 mA; (14)Max. output current sunk by I/O port: 75 mA.
Features
PIC10F202T-I/OT features: (1)High-Performance RISC CPU; (2)In-Circuit Debugging (ICD) support; (3)Power-on Reset (POR); (4)Device Reset Timer (DRT); (5)Internal weak pull-ups on I/O pins; (6)Power-Saving Sleep mode; (7)ake-up from Sleep on pin change; (8)8-bit real-time clock/counter (TMR0) with 8-bit programmable prescaler; (9)Low-Power Features.
Diagrams

| Image | Part No | Mfg | Description | ![]() |
Pricing (USD) |
Quantity | ||||||||||||
|---|---|---|---|---|---|---|---|---|---|---|---|---|---|---|---|---|---|---|
![]() |
![]() PIC10F202T-I/OT |
![]() Microchip Technology |
![]() 8-bit Microcontrollers (MCU) .75kBF 24RM 4I/O Ind Temp SOT-23 |
![]() Data Sheet |
![]()
|
|
||||||||||||
| Image | Part No | Mfg | Description | ![]() |
Pricing (USD) |
Quantity | ||||||||||||
![]() |
![]() PIC1018SCL |
![]() Other |
![]() |
![]() Data Sheet |
![]() Negotiable |
|
||||||||||||
![]() |
![]() PIC10F200 |
![]() Other |
![]() |
![]() Data Sheet |
![]() Negotiable |
|
||||||||||||
![]() |
![]() PIC10F200-E/MC |
![]() Microchip Technology |
![]() 8-bit Microcontrollers (MCU) 384B Flash16B RAM 4 I/O |
![]() Data Sheet |
![]()
|
|
||||||||||||
![]() |
![]() PIC10F200-E/OT |
![]() Other |
![]() |
![]() Data Sheet |
![]() Negotiable |
|
||||||||||||
![]() |
![]() PIC10F200-E/P |
![]() Microchip Technology |
![]() 8-bit Microcontrollers (MCU) U 579-PIC10F200-I/P |
![]() Data Sheet |
![]() Negotiable |
|
||||||||||||
![]() |
![]() PIC10F200-I/MC |
![]() Microchip Technology |
![]() 8-bit Microcontrollers (MCU) 0.375KB Fl 16B RAM |
![]() Data Sheet |
![]()
|
|
||||||||||||
(Hong Kong)










