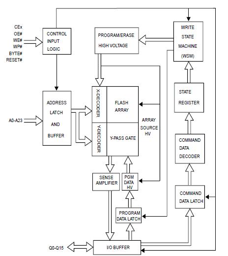
Product Summary
The MX29GL320ELXFI-70G is a 128-mega bit Flash memory organized as 16M bytes of 8 bits or 8M words of 16 bits. MXIC’s Flash memories offer the most cost-effective and reliable read/write non-volatile random access memory. The MX29GL320ELXFI-70G is packaged in 56-pin TSOP. It is designed to be reprogrammed and erased in system or in standard EPROM programmers.
Parametrics
MX29GL320ELXFI-70G absolute maximum ratings: (1)surrounding temperature with Bias: -65℃ to +125℃; (2)storage temperature: -65℃ to +125℃; (3)voltage range: -0.5V to +4.0V, -0.5V to +10.5V, -0.5V to VCC+0.5V; (4)output short circuit current: 200mA.
Features
MX29GL320ELXFI-70G features: (1)Single Power Supply Operation, 2.7 to 3.6 volt for read, erase, and program operations; (2)Configuration, 16,777,216 x 8 / 8,388,608 x 16 switchable; (3)Sector structure, 64KB(32KW) x 256; (4)Latch-up protected to 250mA from -1V to VCC + 1V; (5)Low VCC write inhibit is equal to or less than 1.5V Compatible with JEDEC standard; Pin-out and software compatible to single power supply Flash.
Diagrams

| Image | Part No | Mfg | Description | ![]() |
Pricing (USD) |
Quantity | ||||||||||||||||||||||
|---|---|---|---|---|---|---|---|---|---|---|---|---|---|---|---|---|---|---|---|---|---|---|---|---|---|---|---|---|
![]() |
![]() MX29GL320ELXFI-70G |
![]() |
![]() IC FLASH PAR 32MB 70NS 64LFBGA |
![]() Data Sheet |
![]()
|
|
||||||||||||||||||||||
| Image | Part No | Mfg | Description | ![]() |
Pricing (USD) |
Quantity | ||||||||||||||||||||||
![]() |
![]() MX29F001B |
![]() Other |
![]() |
![]() Data Sheet |
![]() Negotiable |
|
||||||||||||||||||||||
![]() |
![]() MX29F001T |
![]() Other |
![]() |
![]() Data Sheet |
![]() Negotiable |
|
||||||||||||||||||||||
![]() |
![]() MX29F001T/B |
![]() Other |
![]() |
![]() Data Sheet |
![]() Negotiable |
|
||||||||||||||||||||||
![]() |
![]() MX29F002 |
![]() Other |
![]() |
![]() Data Sheet |
![]() Negotiable |
|
||||||||||||||||||||||
![]() |
![]() MX29F002N |
![]() Other |
![]() |
![]() Data Sheet |
![]() Negotiable |
|
||||||||||||||||||||||
![]() |
![]() MX29F002TTI-12 |
![]() Other |
![]() |
![]() Data Sheet |
![]() Negotiable |
|
||||||||||||||||||||||
(Hong Kong)










