Product Summary
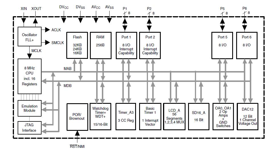
The MSP430FG4250IDL is an ultralow-power microcontroller consists of several devices featuring different sets of peripherals targeted for various applications. The architecture, combined with five low-power modes, is optimized to achieve extended battery life in portable measurement applications. The MSP430FG4250IDL features a powerful 16-bit RISC CPU, 16-bit registers, and constant generators that contribute to maximum code efficiency. The digitally controlled oscillator (DCO) allows wake-up from low-power modes to active mode in less than 6 μs.
Parametrics
MSP430FG4250IDL absolute maximum ratings: (1)Voltage applied at VCC to VSS: -0.3 V to 4.1 V; (2)Voltage applied to any pin: -0.3 V to VCC + 0.3 V; (3)Diode current at any device terminal: ±2 mA; (4)Storage temperature, Tstg: (unprogrammed device): -55℃ to 150℃; (5)(programmed device): -40℃ to 85℃.
Features
MSP430FG4250IDL features: (1)Low Supply-Voltage Range, 1.8 V to 3.6 V; (2)Ultralow-Power Consumption: Active Mode: 250 μA at 1 MHz, 2.2 V; (3)Standby Mode: 1.1 μA Off Mode (RAM Retention): 0.1 μA; (4)Five Power Saving Modes; (5)Wake-Up From Standby Mode in Less Than 6 μs; (6)16-Bit RISC Architecture, 125-ns Instruction Cycle Time; (7)16-Bit Sigma-Delta A/D Converter With Internal Reference and Five Differential Analog Inputs; (8)12-Bit D/A Converter; (9)Two Configurable Operational Amplifiers; (10)16-Bit Timer_A With Three Capture/Compare Registers; (11)Brownout Detector; (12)Bootstrap Loader.
Diagrams

| Image | Part No | Mfg | Description | ![]() |
Pricing (USD) |
Quantity | ||||||||||||
|---|---|---|---|---|---|---|---|---|---|---|---|---|---|---|---|---|---|---|
![]() |
![]() MSP430FG4250IDL |
![]() Texas Instruments |
![]() 16-bit Microcontrollers (MCU) 16-Bit Ultra L-P 16kB Flash 256B RAM |
![]() Data Sheet |
![]()
|
|
||||||||||||
![]() |
![]() MSP430FG4250IDLR |
![]() Texas Instruments |
![]() 16-bit Microcontrollers (MCU) 16-Bit Ultra L-P 16kB Flash 256B RAM |
![]() Data Sheet |
![]()
|
|
||||||||||||
(Hong Kong)









