Product Summary
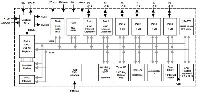
The MSP430F4371IPZR is a mixed signal microcontroller. The MSP430F4371IPZR series are microcontroller configurations with two built-in 16-bit timers, a fast 12-bit A/D converter, one or two universal serial synchronous/asynchronous communication interfaces (USART), 48 I/O pins, and a liquid crystal driver (LCD)with up to 160 segments. Typical applications include sensor systems that capture analog signals, convert them to digital values, and process and transmit the data to a host system, or process this data and display it on a LCD panel. The timers make the configurations ideal for industrial control applications such as ripple counters, digital motor control, EE-meters, hand-held meters, etc. The hardware multiplier enhances the performance and offers a broad code and hardware-compatible family solution.
Parametrics
MSP430F4371IPZR absolute maximum ratings: (1)Voltage applied at VCC to VSS: -0.3 V to 4.1 V; (2)Voltage applied to any pin: -0.3 V to VCC + 0.3 V; (3)Diode current at any device terminal: ±2 mA; (4)Storage temperature, Tstg: (unprogrammed device): -55°C to 150°C; (5)Storage temperature, Tstg: (programmed device): -40°C to 85°C.
Features
MSP430F4371IPZR features: (1)Low Supply-Voltage Range, 1.8 V to 3.6 V; (2)Ultralow-Power Consumption:-Active Mode: 280 μA at 1 MHz, 2.2 V; (3)Five Power Saving Modes; (4)Wake-Up From Standby Mode in Less Than 6 μs; (5)16-Bit RISC Architecture, 125-ns Instruction Cycle Time; (6)12-Bit A/D Converter With Internal Reference, Sample-and-Hold and Autoscan Feature; (7)16-Bit Timer_A With Three Capture/Compare Registers; (8)On-Chip Comparator; (9)Serial Communication Interface (USART), Select Asynchronous UART or Synchronous SPI by Software; (10)Brownout Detector; (11)Supply Voltage Supervisor/Monitor With Programmable Level Detection; (12)Serial Onboard Programming, No External Programming Voltage Needed Programmable Code Protection by Security Fuse; (13)Integrated LCD Driver for up to 160 Segments; (14)Bootstrap Loader.
Diagrams

| Image | Part No | Mfg | Description | ![]() |
Pricing (USD) |
Quantity | ||||||||
|---|---|---|---|---|---|---|---|---|---|---|---|---|---|---|
![]() |
![]() MSP430F4371IPZR |
![]() Texas Instruments |
![]() 16-bit Microcontrollers (MCU) 32kB Flash 1024B RAM |
![]() Data Sheet |
![]()
|
|
||||||||
| Image | Part No | Mfg | Description | ![]() |
Pricing (USD) |
Quantity | ||||||||
![]() |
![]() MSP4120 |
![]() Other |
![]() |
![]() Data Sheet |
![]() Negotiable |
|
||||||||
![]() |
![]() MSP4200 |
![]() Other |
![]() |
![]() Data Sheet |
![]() Negotiable |
|
||||||||
![]() |
![]() MSP430×11× |
![]() Other |
![]() |
![]() Data Sheet |
![]() Negotiable |
|
||||||||
![]() |
![]() MSP430×11×2 |
![]() Other |
![]() |
![]() Data Sheet |
![]() Negotiable |
|
||||||||
![]() |
![]() MSP430×12×2 |
![]() Other |
![]() |
![]() Data Sheet |
![]() Negotiable |
|
||||||||
![]() |
![]() MSP430×21×1 |
![]() Other |
![]() |
![]() Data Sheet |
![]() Negotiable |
|
||||||||
(Hong Kong)










