Product Summary
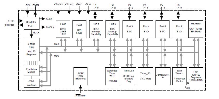
The MSP430F435IPNR is an ultralow power microcontroller consists of several devices featuring different sets of peripherals targeted for various applications. The architecture, combined with five low-power modes, is optimized to achieve extended battery life in portable measurement applications. The MSP430F435IPNR features a powerful 16-bit RISC CPU, 16-bit registers, and constant generators that contribute to maximum code efficiency.
Parametrics
MSP430F435IPNR absolute maximum ratings: (1)Voltage applied at VCC to VSS: -0.3 V to 4.1 V; (2)Voltage applied to any pin: -0.3 V to VCC + 0.3 V; (3)Diode current at any device terminal: ±2 mA; (4)Storage temperature, Tstg: (unprogrammed device): -55℃ to 150℃; (5)(programmed device): -40℃ to 85℃.
Features
MSP430F435IPNR features: (1)Low Supply-Voltage Range, 1.8 V to 3.6 V; (2)Ultralow-Power Consumption: Active Mode: 280μA at 1 MHz, 2.2 V; Standby Mode: 1.1μA; Off Mode (RAM Retention): 0.1μA; (3)Five Power Saving Modes; (4)Wake-Up From Standby Mode in Less Than 6μs; (5)16-Bit RISC Architecture, 125-ns Instruction Cycle Time; (6)12-Bit A/D Converter With Internal Reference, Sample-and-Hold and Autoscan Feature; (7)16-Bit Timer_B With Three or Seven Capture/Compare-With-Shadow Registers; (8)16-Bit Timer_A With Three Capture/Compare Registers; (9)On-Chip Comparator; (10)Serial Communication Interface (USART), Select Asynchronous UART or Synchronous SPI by Software: Two USARTs (USART0, USART1) MSP430x44x Devices; One USART (USART0) MSP430x43x(1) Devices; (11)Brownout Detector; (12)Supply Voltage Supervisor/Monitor With Programmable Level Detection.
Diagrams

| Image | Part No | Mfg | Description | ![]() |
Pricing (USD) |
Quantity | ||||||||
|---|---|---|---|---|---|---|---|---|---|---|---|---|---|---|
![]() |
![]() MSP430F435IPNR |
![]() Texas Instruments |
![]() 16-bit Microcontrollers (MCU) 16kB Flash 512B RAM 12bADC/USART 160sLCD |
![]() Data Sheet |
![]()
|
|
||||||||
| Image | Part No | Mfg | Description | ![]() |
Pricing (USD) |
Quantity | ||||||||
![]() |
![]() MSP4120 |
![]() Other |
![]() |
![]() Data Sheet |
![]() Negotiable |
|
||||||||
![]() |
![]() MSP4200 |
![]() Other |
![]() |
![]() Data Sheet |
![]() Negotiable |
|
||||||||
![]() |
![]() MSP430×11× |
![]() Other |
![]() |
![]() Data Sheet |
![]() Negotiable |
|
||||||||
![]() |
![]() MSP430×11×2 |
![]() Other |
![]() |
![]() Data Sheet |
![]() Negotiable |
|
||||||||
![]() |
![]() MSP430×12×2 |
![]() Other |
![]() |
![]() Data Sheet |
![]() Negotiable |
|
||||||||
![]() |
![]() MSP430×21×1 |
![]() Other |
![]() |
![]() Data Sheet |
![]() Negotiable |
|
||||||||
(Hong Kong)










