Product Summary
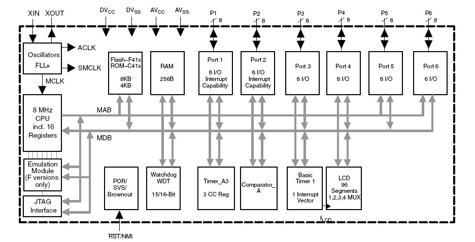
The MSP430F412IPMR is a Mixed Signal Microcontroller. The Texas Instruments MSP430 family of ultra-low-power microcontrollers consists of several devices featuring different sets of peripherals targeted for various applications. The architecture, combined with five low power modes, is optimized to achieve extended battery life in portable measurement applications. The device features a powerful 16-bit RISC CPU, 16-bit registers, and constant generators that contribute to maximum code efficiency. The digitally controlled oscillator (DCO) allows wake-up from low-power modes to active mode in less than 6 μs. The MSP430F412IPMR is microcontroller configurations with one or two built-in 16-bit timers, a comparator, 96 LCD segment drive capability, and 48 I/O pins.
Parametrics
MSP430F412IPMR absolute maximum ratings: (1)Voltage applied at VCC to VSS: -0.3 V to 4.1 V; (2)Voltage applied to any pin (see Note): -0.3 V to VCC + 0.3 V; (3)Diode current at any device terminal: ±2 mA; (4)Storage temperature, Tstg: (unprogrammed device): -55℃ to 150℃.
Features
MSP430F412IPMR features: (1)Five Power-Saving Modes; (2)Wake-Up From Standby Mode in Less Than 6 μs; (3)Frequency-Locked Loop (FLL+); (4)16-Bit RISC Architecture, 125-ns Instruction Cycle Time; (5)16-Bit Timer_A With Three or Fiv Capture/Compare Registers; (6)Integrated LCD Driver for 96 Segments; (7)On-Chip Comparator; (8)Brownout Detector; (9)Supply Voltage Supervisor/Monitor - Programmable Level Detection on MSP430F415/417 Devices Only.
Diagrams

| Image | Part No | Mfg | Description | ![]() |
Pricing (USD) |
Quantity | ||||||||
|---|---|---|---|---|---|---|---|---|---|---|---|---|---|---|
![]() |
![]() MSP430F412IPMR |
![]() Texas Instruments |
![]() 16-bit Microcontrollers (MCU) 4kB Flash 256B RAM Comp/96 segment LCD |
![]() Data Sheet |
![]()
|
|
||||||||
| Image | Part No | Mfg | Description | ![]() |
Pricing (USD) |
Quantity | ||||||||
![]() |
![]() MSP4120 |
![]() Other |
![]() |
![]() Data Sheet |
![]() Negotiable |
|
||||||||
![]() |
![]() MSP4200 |
![]() Other |
![]() |
![]() Data Sheet |
![]() Negotiable |
|
||||||||
![]() |
![]() MSP430×11× |
![]() Other |
![]() |
![]() Data Sheet |
![]() Negotiable |
|
||||||||
![]() |
![]() MSP430×11×2 |
![]() Other |
![]() |
![]() Data Sheet |
![]() Negotiable |
|
||||||||
![]() |
![]() MSP430×12×2 |
![]() Other |
![]() |
![]() Data Sheet |
![]() Negotiable |
|
||||||||
![]() |
![]() MSP430×21×1 |
![]() Other |
![]() |
![]() Data Sheet |
![]() Negotiable |
|
||||||||
(Hong Kong)










