Product Summary
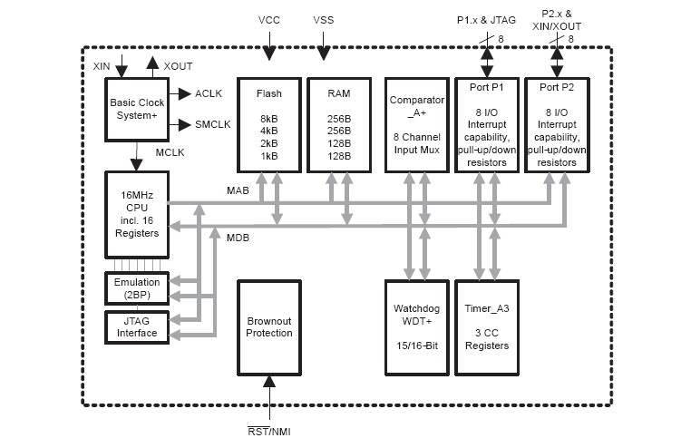
The MSP430F2131IPWR is a Mixed Signal Microcontroller. The Texas Instruments MSP430 family of ultralow power microcontrollers consist of several devices featuring different sets of peripherals targeted for various applications. The architecture, combined with five low power modes is optimized to achieve extended battery life in portable measurement applications. The device features a powerful 16-bit RISC CPU, 16-bit registers, and constant generators that attribute to maximum code efficiency. The digitally controlled oscillator (DCO) allows wake-up from low-power modes to active mode in less than 1μs. The MSP430F2131IPWR is an ultralow-power mixed signal microcontroller with a built-in 16-bit timer, versatile analog comparator and sixteen I/O pins.
Parametrics
MSP430F2131IPWR absolute maximum ratings: (1)Voltage applied at VCC to VSS: -0.3 V to 4.1 V; (2)Voltage applied to any pin (see Note): -0.3 V to VCC + 0.3 V; (3)Diode current at any device terminal: ±2 mA; (4)Storage temperature, Tstg: (unprogrammed device): -55℃ to 150℃.
Features
MSP430F2131IPWR features: (1)Ultrafast Wake-Up From Standby Mode in less than 1 μs; (2)16-Bit RISC Architecture, 62.5 ns Instruction Cycle Time; (3)16-Bit Timer_A With Three Capture/Compare Registers; (4)On-Chip Comparator for Analog Signal Compare Function or Slope A/D Conversion; (5)Brownout Detector; (6)Bootstrap Loader; (7)On Chip Emulation Module.
Diagrams

| Image | Part No | Mfg | Description | ![]() |
Pricing (USD) |
Quantity | ||||||||||||
|---|---|---|---|---|---|---|---|---|---|---|---|---|---|---|---|---|---|---|
![]() |
![]() MSP430F2131IPWR |
![]() Texas Instruments |
![]() 16-bit Microcontrollers (MCU) 16-Bit Ult-Lo-Pwr 8kB Flash 256B RAM |
![]() Data Sheet |
![]()
|
|
||||||||||||
| Image | Part No | Mfg | Description | ![]() |
Pricing (USD) |
Quantity | ||||||||||||
![]() |
![]() MSP4120 |
![]() Other |
![]() |
![]() Data Sheet |
![]() Negotiable |
|
||||||||||||
![]() |
![]() MSP4200 |
![]() Other |
![]() |
![]() Data Sheet |
![]() Negotiable |
|
||||||||||||
![]() |
![]() MSP430×11× |
![]() Other |
![]() |
![]() Data Sheet |
![]() Negotiable |
|
||||||||||||
![]() |
![]() MSP430×11×2 |
![]() Other |
![]() |
![]() Data Sheet |
![]() Negotiable |
|
||||||||||||
![]() |
![]() MSP430×12×2 |
![]() Other |
![]() |
![]() Data Sheet |
![]() Negotiable |
|
||||||||||||
![]() |
![]() MSP430×21×1 |
![]() Other |
![]() |
![]() Data Sheet |
![]() Negotiable |
|
||||||||||||
(Hong Kong)










