Product Summary
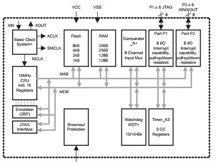
The MSP430F2121IPWR is a mixed signal microcontroller. The Texas Instruments MSP430F2121IPWR family of ultralow power microcontrollers consist of several devices featuring different sets of peripherals targeted for various applications. The architecture, combined with five low power modes is optimized to achieve extended battery life in portable measurement applications. The device features a powerful 16-bit RISC CPU, 16-bit registers, and constant generators that attribute to maximum code efficiency. The digitally controlled oscillator (DCO) allows wake-up from low-power modes to active mode in less than 1micro. Typical applications of the MSP430F2121IPWR include sensor systems that capture analog signals, convert them to digital values, and then process the data for display or for transmission to a host system. Stand alone RF sensor front end is another area of application. The analog comparator provides slope A/D conversion capability.
Parametrics
MSP430F2121IPWR absolute maximum ratings: (1)Voltage applied at VCC to VSS: -0.3 V to 4.1 V ; (2)Voltage applied to any pin (see Note 2): -0.3 V to VCC+0.3 V; (3)Diode current at any device terminal: ±2 mA; (4)Storage temperature, Tstg (unprogrammed device, see Note 3): -55 °C to 150°C; (5)Storage temperature, Tstg (programmed device, see Note 3): -40°C to 85°C.
Features
MSP430F2121IPWR features: (1)Low Supply Voltage Range 1.8 V to 3.6 V; (2)Ultralow-Power Consumption: Active Mode: 250 μA at 1 MHz, 2.2 V; (3)Ultrafast Wake-Up From Standby Mode in less than 1 μs; (4)16-Bit RISC Architecture, 62.5 ns Instruction Cycle Time; (5)Basic Clock Module Configurations:-Internal Frequencies up to 16MHz with 4 calibrated Frequencies to ±1%; (6)16-Bit Timer_A With Three Capture/Compare Registers; (7)On-Chip Comparator for Analog Signal Compare Function or Slope A/D Conversion; (8)Brownout Detector; (9)Serial Onboard Programming, No External Programming Voltage Needed Programmable Code Protection by Security Fuse; (10)Bootstrap Loader; (11)On Chip Emulation Module; (12)Available in a 20-Pin Plastic Small-Outline Wide Body (SOWB) Package, 20-Pin Plastic Small-Outline Thin (TSSOP) Package.
Diagrams

| Image | Part No | Mfg | Description | ![]() |
Pricing (USD) |
Quantity | ||||||||||||
|---|---|---|---|---|---|---|---|---|---|---|---|---|---|---|---|---|---|---|
![]() |
![]() MSP430F2121IPWR |
![]() Texas Instruments |
![]() 16-bit Microcontrollers (MCU) 16-bit Ult-Lo-Pwr 4kB Flash 256B RAM |
![]() Data Sheet |
![]()
|
|
||||||||||||
| Image | Part No | Mfg | Description | ![]() |
Pricing (USD) |
Quantity | ||||||||||||
![]() |
![]() MSP4120 |
![]() Other |
![]() |
![]() Data Sheet |
![]() Negotiable |
|
||||||||||||
![]() |
![]() MSP4200 |
![]() Other |
![]() |
![]() Data Sheet |
![]() Negotiable |
|
||||||||||||
![]() |
![]() MSP430×11× |
![]() Other |
![]() |
![]() Data Sheet |
![]() Negotiable |
|
||||||||||||
![]() |
![]() MSP430×11×2 |
![]() Other |
![]() |
![]() Data Sheet |
![]() Negotiable |
|
||||||||||||
![]() |
![]() MSP430×12×2 |
![]() Other |
![]() |
![]() Data Sheet |
![]() Negotiable |
|
||||||||||||
![]() |
![]() MSP430×21×1 |
![]() Other |
![]() |
![]() Data Sheet |
![]() Negotiable |
|
||||||||||||
(Hong Kong)










