Product Summary
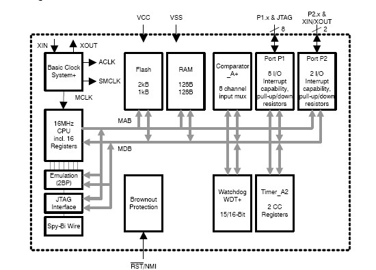
The MSP430F2012IPWR is a Mixed Signal Microcontroller. The Texas Instruments MSP430 family of ultralow-power microcontrollers consist of several devices featuring different sets of peripherals targeted for various applications. The architecture, combined with five low-power modes is optimized to achieve extended battery life in portablemeasurement applications. The device features a powerful 16-bit RISC CPU, 16-bit registers, and constant generators that contribute to maximum code efficiency.The digitally controlled oscillator (DCO) allows wake-up from low-power modes to active mode in less than 1μs. The MSP430F2012IPWR is an ultralow-power mixed signal microcontroller with a built-in 16-bit timer, and ten I/O pins. In addition the MSP430F2012IPWR has a versatile analog comparator. The MSP430F2012IPWR has built-in communication capability using synchronous protocols (SPI or I2C), and a 10-bit A/D converter (MSP430x20x2) or a 16-bit sigma-delta A/D converter (MSP430x20x3).
Parametrics
MSP430F2012IPWR absolute maximum ratings: (1)Voltage applied at VCC to VSS: -0.3 V to 4.1 V; (2)Voltage applied to any pin (see Note): -0.3 V to VCC + 0.3 V; (3)Diode current at any device terminal: ±2 mA; (4)Storage temperature, Tstg: (unprogrammed device): -55℃ to 150℃.
Features
MSP430F2012IPWR features: (1)16-Bit Timer_A With Two Capture/Compare Registers; (2)On-Chip Comparator for Analog Signal Compare Function or Slope A/D (MSP430x20x1 only); (3)10-Bit 200-ksps A/D Converter With Internal Reference, Sample-and-Hold, and Autoscan (MSP430x20x2 only); (4)16-Bit Sigma-Delta A/D Converter With Differential PGA Inputs and Internal Reference (MSP430x20x3 only); (5)Universal Serial Interface (USI) Supporting SPI and I2 (MSP430x20x2 and MSP430x20x3 only).
Diagrams

| Image | Part No | Mfg | Description | ![]() |
Pricing (USD) |
Quantity | ||||||||||||
|---|---|---|---|---|---|---|---|---|---|---|---|---|---|---|---|---|---|---|
![]() |
![]() MSP430F2012IPWR |
![]() Texas Instruments |
![]() 16-bit Microcontrollers (MCU) 16-Bit Ultra Low Pwr 1kB Flash 2kB RAM |
![]() Data Sheet |
![]()
|
|
||||||||||||
| Image | Part No | Mfg | Description | ![]() |
Pricing (USD) |
Quantity | ||||||||||||
![]() |
![]() MSP4120 |
![]() Other |
![]() |
![]() Data Sheet |
![]() Negotiable |
|
||||||||||||
![]() |
![]() MSP4200 |
![]() Other |
![]() |
![]() Data Sheet |
![]() Negotiable |
|
||||||||||||
![]() |
![]() MSP430×11× |
![]() Other |
![]() |
![]() Data Sheet |
![]() Negotiable |
|
||||||||||||
![]() |
![]() MSP430×11×2 |
![]() Other |
![]() |
![]() Data Sheet |
![]() Negotiable |
|
||||||||||||
![]() |
![]() MSP430×12×2 |
![]() Other |
![]() |
![]() Data Sheet |
![]() Negotiable |
|
||||||||||||
![]() |
![]() MSP430×21×1 |
![]() Other |
![]() |
![]() Data Sheet |
![]() Negotiable |
|
||||||||||||
(Hong Kong)










