Product Summary
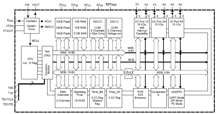
The MSP430F157IPMR is a Mixed Signal Microcontroller. The Texas Instruments MSP430 family of ultralow power microcontrollers consist of several devices featuring different sets of peripherals targeted for various applications. The architecture, combined with five low power modes is optimized to achieve extended battery life in portable measurement applications. The device features a powerful 16-bit RISC CPU, 16-bit registers, and constant generators that attribute to maximum code efficiency. The digitally controlled oscillator (DCO) allows wake-up from low-power modes to active mode in less than 6μs. The MSP430F157IPMR is microcontroller configurations with two built-in 16-bit timers, a fast 12-bit A/D converter, dual 12-bit D/A converter, one or two universal serial synchronous/asynchronous communication interfaces (USART), I2C, DMA, and 48 I/O pins. In addition, the MSP430x161x series offers extended RAM addressing for memory-intensive applications and large C-stack requirements.
Parametrics
MSP430F157IPMR absolute maximum ratings: (1)Voltage applied at VCC to VSS: -0.3 V to 4.1 V; (2)Voltage applied to any pin (see Note): -0.3 V to VCC + 0.3 V; (3)Diode current at any device terminal: ±2 mA; (4)Storage temperature, Tstg: (unprogrammed device): -55℃ to 150℃.
Features
MSP430F157IPMR features: (1)Five Power-Saving Modes; (2)Wake-Up From Standby Mode in less than 6 μs; (3)16-Bit RISC Architecture, 125-ns Instruction Cycle Time; (4)Three-Channel Internal DMA; (5)12-Bit A/D Converter With Interna Reference, Sample-and-Hold and Autoscan Feature; (6)Dual 12-Bit D/A Converters With Synchronization; (7)16-Bit Timer_A With Three Capture/Compare Registers; (8)16-Bit Timer_B With Three or Seven Capture/Compare-With-Shadow Registers; (9)On-Chip Comparator; (10)Serial Communication Interface (USART0), Functions as Asynchronous UART or Synchronous SPI or I2CTM Interface.
Diagrams

| Image | Part No | Mfg | Description | ![]() |
Pricing (USD) |
Quantity | ||||||||||||
|---|---|---|---|---|---|---|---|---|---|---|---|---|---|---|---|---|---|---|
![]() |
![]() MSP430F157IPMR |
![]() Texas Instruments |
![]() 16-bit Microcontrollers (MCU) 32kB Flash 1MB RAM 12-Bit ADC/Dual DAC |
![]() Data Sheet |
![]()
|
|
||||||||||||
| Image | Part No | Mfg | Description | ![]() |
Pricing (USD) |
Quantity | ||||||||||||
![]() |
![]() MSP4120 |
![]() Other |
![]() |
![]() Data Sheet |
![]() Negotiable |
|
||||||||||||
![]() |
![]() MSP4200 |
![]() Other |
![]() |
![]() Data Sheet |
![]() Negotiable |
|
||||||||||||
![]() |
![]() MSP430×11× |
![]() Other |
![]() |
![]() Data Sheet |
![]() Negotiable |
|
||||||||||||
![]() |
![]() MSP430×11×2 |
![]() Other |
![]() |
![]() Data Sheet |
![]() Negotiable |
|
||||||||||||
![]() |
![]() MSP430×12×2 |
![]() Other |
![]() |
![]() Data Sheet |
![]() Negotiable |
|
||||||||||||
![]() |
![]() MSP430×21×1 |
![]() Other |
![]() |
![]() Data Sheet |
![]() Negotiable |
|
||||||||||||
(Hong Kong)










