Product Summary
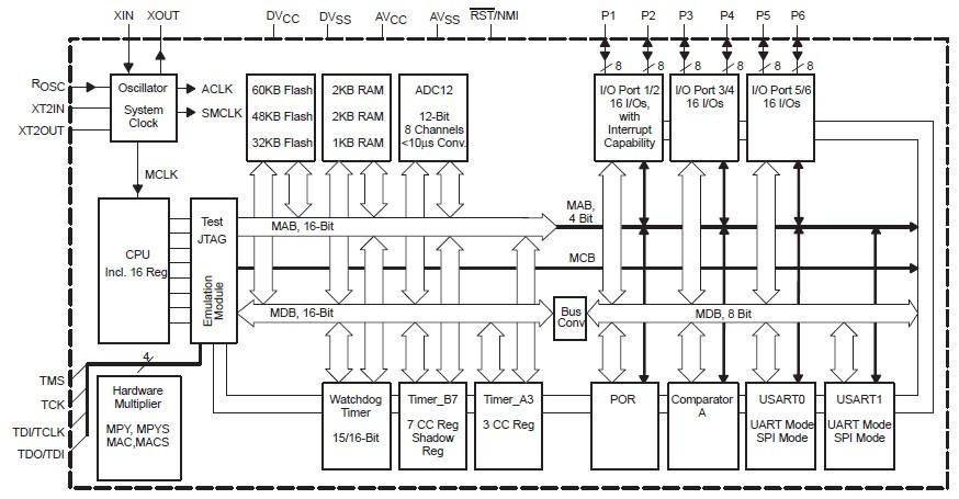
The MSP430F147IPM is an ultralow-power microcontroller consists of several devices featuring different sets of peripherals targeted for various applications. The architecture, combined with five low power modes is optimized to achieve extended battery life in portable measurement applications. The MSP430F147IPM features a powerful 16-bit RISC CPU, 16-bit registers, and constant generators that attribute to maximum code efficiency. The digitally controlled oscillator (DCO) allows wake-up from low-power modes to active mode in less than 6 μs. The MSP430x13x and the MSP430F147IPM are microcontroller configurations with two built-in 16-bit timers, a fast 12-bit A/D converter (not implemented on the MSP430F147IPM device), one or two universal serial synchronous/asynchronous communication interfaces (USART), and 48 I/O pins.
Parametrics
MSP430F147IPM absolute maximum ratings: (1)Voltage applied at VCC to VSS: -0.3 V to + 4.1 V; (2)Voltage applied to any pin: -0.3 V to VCC+0.3 V; (3)Diode current at any device terminal: ±2 mA; (4)Storage temperature (unprogrammed device): -55℃ to 150℃; (5)Storage temperature (programmed device): -40℃ to 85℃.
Features
MSP430F147IPM features: (1)Low Supply-Voltage Range, 1.8 V to 3.6 V; (2)Ultralow-Power Consumption: Active Mode: 280 μA at 1 MHz, 2.2V; (3)Standby Mode: 1.6 μA; (4)Off Mode (RAM Retention): 0.1 μA; (5)Five Power-Saving Modes; (6)Wake-Up From Standby Mode in less than 6 μs; (7)16-Bit RISC Architecture, 125-ns Instruction Cycle Time; (8)12-Bit A/D Converter With Internal Reference, Sample-and-Hold and Autoscan Feature; (9)16-Bit Timer_B With Seven Capture/Compare-With-Shadow Registers; (10)16-Bit Timer_A With Three Capture/Compare Registers On-Chip Comparator; (11)Available in 64-Pin Quad Flat Pack (QFP) and 64-pin QFN.
Diagrams

| Image | Part No | Mfg | Description | ![]() |
Pricing (USD) |
Quantity | ||||||||||||
|---|---|---|---|---|---|---|---|---|---|---|---|---|---|---|---|---|---|---|
![]() |
![]() MSP430F147IPM |
![]() Texas Instruments |
![]() 16-bit Microcontrollers (MCU) 32 kB Flash 1KB RAM 12b ADC-2 USART-HW |
![]() Data Sheet |
![]()
|
|
||||||||||||
![]() |
![]() MSP430F147IPMR |
![]() Texas Instruments |
![]() 16-bit Microcontrollers (MCU) 32 kB Flash 1KB RAM 12b ADC-2 USART-HW |
![]() Data Sheet |
![]()
|
|
||||||||||||
![]() |
![]() MSP430F147IPMRG4 |
![]() Texas Instruments |
![]() 16-bit Microcontrollers (MCU) 16-bit Ultra-Lo-Pwr |
![]() Data Sheet |
![]()
|
|
||||||||||||
(Hong Kong)









