Product Summary
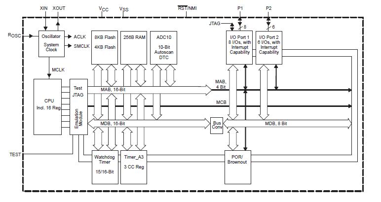
The MSP430F1232IDW is an ultralow-power microcontroller consists of several devices featuring different sets of peripherals targeted for various applications. The architecture, combined with five low power modes is optimized to achieve extended battery life in portable measurement applications. The MSP430F1232IDW features a powerful 16-bit RISC CPU, 16-bit registers, and constant generators that attribute to maximum code efficiency. The digitally controlled oscillator (DCO) allows wake-up from low-power modes to active mode in less than 6μs.
Parametrics
MSP430F1232IDW absolute maximum ratings: (1)Voltage applied at VCC to VSS: -0.3 V to 4.1 V; (2)Voltage applied to any pin: -0.3 V to VCC + 0.3 V; (3)Diode current at any device terminal: ±2 mA; (4)Storage temperature, Tstg (unprogrammed device): -55℃ to 150℃; (5)Storage temperature, Tstg (programmed device): -40℃ to 85℃.
Features
MSP430F1232IDW features: (1)Low Supply Voltage Range 1.8 V - 3.6 V; (2)Ultralow-Power Consumption: Active Mode: 200 μA at 1 MHz, 2.2 V; Standby Mode: 0.7 μA; Off Mode (RAM Retention): 0.1 μA; (3)Five Power Saving Modes; (4)Wake-Up From Standby Mode in less than 6 μs; (5)16-Bit RISC Architecture, 125 ns Instruction Cycle Time; (6)Basic Clock Module Configurations: Various Internal Resistors; Single External Resistor; 32-kHz Crystal; High Frequency Crystal; Resonator; External Clock Source; (7)16-Bit Timer_A With Three Capture/Compare Registers; (8)10-Bit, 200-ksps A/D Converter With Internal Reference, Sample-and-Hold, Autoscan, and Data Transfer Controller; (9)Serial Communication Interface (USART0) With Software-Selectable Asynchronous UART or Synchronous SPI (MSP430x12x2 Only); (10)Serial Onboard Programming, No External Programming Voltage Needed Programmable Code Protection by Security Fuse; (11)Supply Voltage Brownout Protection.
Diagrams

| Image | Part No | Mfg | Description | ![]() |
Pricing (USD) |
Quantity | ||||||||||||
|---|---|---|---|---|---|---|---|---|---|---|---|---|---|---|---|---|---|---|
![]() |
![]() MSP430F1232IDW |
![]() Texas Instruments |
![]() 16-bit Microcontrollers (MCU) 8kB Flash 256B RAM 10bit ADC + 1 USART |
![]() Data Sheet |
![]()
|
|
||||||||||||
![]() |
![]() MSP430F1232IDWR |
![]() Texas Instruments |
![]() 16-bit Microcontrollers (MCU) 8kB Flash 256B RAM 10bit ADC + 1 USART |
![]() Data Sheet |
![]()
|
|
||||||||||||
(Hong Kong)









