Product Summary
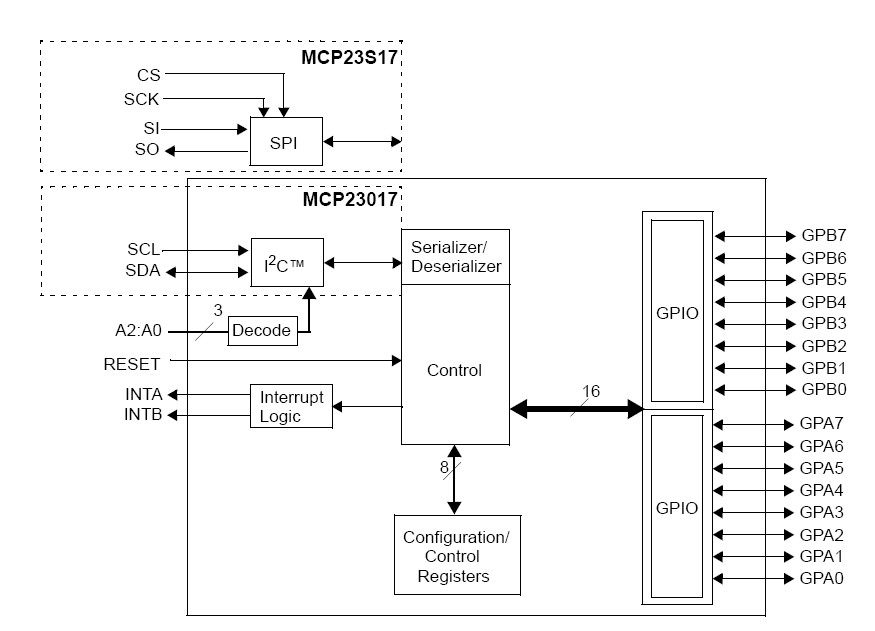
The MCP23017-E/SO is an I/O Expander. The MCP23017-E/SO consists of multiple 8-bit configuration registers for input, output and polarity selection. The system master can enable the I/Os as either inputs or outputs by writing the I/O configuration bits (IODIRA/B). The data for each input or output is kept in the corresponding input or output register. The polarity of the Input Port register can be inverted with the Polarity Inversion register. All registers can be read by the system master. The 16-bit I/O port functionally consists of two 8-bit ports (PORTA and PORTB). The MCP23017-E/SO can be configured to operate in the 8-bit or 16-bit modes via IOCON.BANK.
Parametrics
MCP23017-E/SO absolute maximum ratings: (1)Ambient temperature under bias: -40℃ to +125℃; (2)Storage temperature: -65℃ to +150℃; (3)Voltage on VDD with respect to VSS: -0.3V to +5.5V; (4)Voltage on all other pins with respect to VSS (except VDD): -0.6V to (VDD + 0.6V); (5)Total power dissipation: 700 mW; (6)Maximum current out of VSS pin: 150 mA; (7)Maximum current into VDD pin: 125 mA; (8)Input clamp current: ±20 mA; (9)Output clamp current: ±20 mA; (10)Maximum output current sunk by any output pin: 25 mA; (11)Maximum output current sourced by any output pin: 25 mA.
Features
MCP23017-E/SO features: (1)16-bit remote bidirectional I/O port; (2)Three hardware address pins to allow up to eight devices on the bus; (3)INTA and INTB can be configured to operate independently or together; (4)Polarity Inversion register to configure the polarity of the input port data; (5)External Reset input; (6)Low standby current: 1 μA (max.).
Diagrams

| Image | Part No | Mfg | Description | ![]() |
Pricing (USD) |
Quantity | ||||||||||||
|---|---|---|---|---|---|---|---|---|---|---|---|---|---|---|---|---|---|---|
![]() |
![]() MCP23017-E/SO |
![]() Microchip Technology |
![]() I/O Expanders, Repeaters & Hubs 16bit Input/Output Exp I2C interface |
![]() Data Sheet |
![]()
|
|
||||||||||||
| Image | Part No | Mfg | Description | ![]() |
Pricing (USD) |
Quantity | ||||||||||||
![]() |
![]() MCP2003A-E/MD |
![]() Microchip Technology |
![]() LIN Transceivers Stand alone LIN Transceiver |
![]() Data Sheet |
![]()
|
|
||||||||||||
![]() |
![]() MCP2003A-E/P |
![]() Microchip Technology |
![]() LIN Transceivers Stand alone LIN Transceiver |
![]() Data Sheet |
![]()
|
|
||||||||||||
![]() |
![]() MCP2003A-E/SN |
![]() Microchip Technology |
![]() LIN Transceivers Stand alone LIN Transceiver |
![]() Data Sheet |
![]()
|
|
||||||||||||
![]() |
![]() MCP2003AT-E/MD |
![]() Microchip Technology |
![]() LIN Transceivers Stand alone LIN Transceiver |
![]() Data Sheet |
![]()
|
|
||||||||||||
![]() |
![]() MCP2003AT-E/SN |
![]() Microchip Technology |
![]() LIN Transceivers Stand alone LIN Transceiver |
![]() Data Sheet |
![]()
|
|
||||||||||||
![]() |
![]() MCP2003-E/MD |
![]() Microchip Technology |
![]() LIN Transceivers Stand Alone LIN Transceiver |
![]() Data Sheet |
![]()
|
|
||||||||||||
(Hong Kong)









