Product Summary
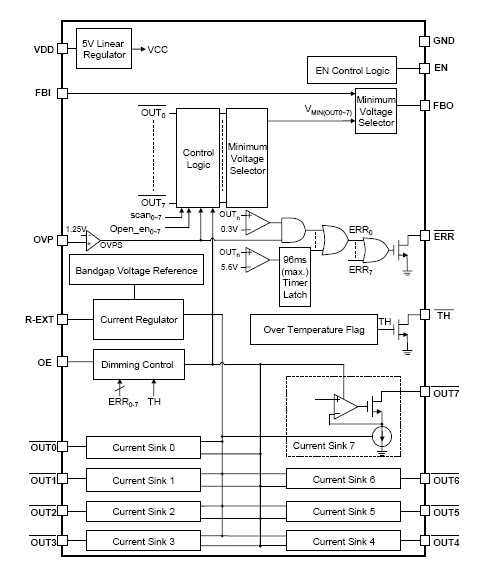
The MBI1838 is an instant On/Off LED driver for LED backlight applications and exploit precisionDrive technology to enhance its output characteristics. At the MBI1838 output stage, 8 regulated current ports are designed to provide uniform and constant current sink for driving LEDs within a large range of VF variations, and in order to eliminate the heat generated by VF variations, a feedback function is integrated in the MBI1838 to control the LED power source.
Parametrics
MBI1838 absolute maximum ratings: (1)Supply voltage: 70V; (2)Sustaining Voltage at OE (in): 7V; (3)Sustaining Voltage at EN (in): 7V; (4)Sustaining Voltage at FBI (in): 7V; (5)Sustaining Voltage at FBO (out): 7V; (6)Sustaining Voltage at OVP(in): 7V; (7)Sustaining Voltage at TH (in): 7V; (8)Sustaining Voltage at ERR (in): 7V; (9)Output current: 88mA; (10)GND terminal current: 720mA; (11)Power dissipation: 3.44W.
Features
MBI1838 features: (1)Maximum 70V sustaining voltage; (2)8 constant current output channels; (3)Constant output current invariant to load change; (4)Excellent output current accuracy; (5)Dimming control: 1:100@5KHz; (6)Over voltage detection; (7)Thermal shutdown and thermal flag; (8)PoHS Compliant packages with thermal pad.
Diagrams

(Hong Kong)






