Product Summary
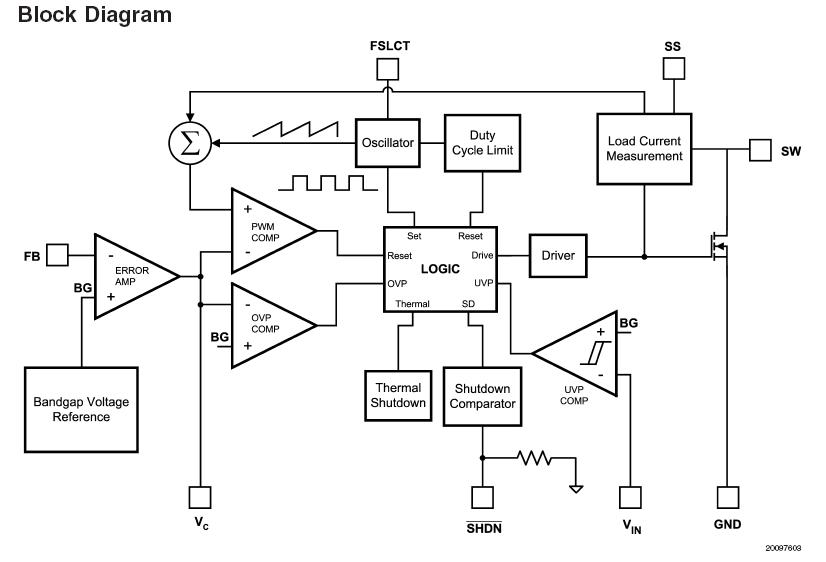
The LM3224MM-ADJ is a step-up DC/DC converter with a 0.15Ω (typ.), 2.45A (typ.) internal switch and pin selectable operating frequency. With the ability to convert 3.3V to multiple outputs of 8V, -8V, and 23V, the LM3224MM-ADJ is an ideal part for biasing TFT displays. With the high current switch it is also ideal for driving high current white LEDs for flash applications. The LM3224MM-ADJ can be operated at switching frequencies of 615 kHz and 1.25 MHz allowing for easy filtering and low noise. An external compensation pin gives the user flexibility in setting frequency compensation, which makes possible the use of small, low ESR ceramic capacitors at the output. An external soft-start pin allows the user to control the amount of inrush current during start up. The LM3224MM-ADJ is available in a low profile 8-lead MSOP package. The applications of the LM3224MM-ADJ include TFT Bias Supplies, Handheld Devices, Portable Applications, GSM/CDMA Phones, Digital Cameras, and White LED Flash/Torch Applications.
Parametrics
LM3224MM-ADJ absolute maximum ratings: (1)VIN: 7.5V; (2)SW Voltage: 21V; (3)FB Voltage (Note 2): 7V; (4)VC Voltage (Note 3): 1.26V ±0.3V; (5)SHDN Voltage: 7.5V; (6)FSLCT: 7.5V; (7)Maximum Junction Temperature: 150℃; (8)Power Dissipation(Note 4): Internally Limited; (9)Lead Temperature: 300℃; (10)Vapor Phase (60 sec.): 215℃; (11)Infrared (15 sec.): 220℃; (12)ESD Susceptibility Human Body Model: 2kV; (13)Machine Model: 200V.
Features
LM3224MM-ADJ features: (1)Operating voltage range of 2.7V to 7V; (2)615kHz/1.25MHz pin selectable frequency operation; (3)Over temperature protection; (4)Optional soft-start function; (5)8-Lead MSOP package.
Diagrams

| Image | Part No | Mfg | Description | ![]() |
Pricing (USD) |
Quantity | ||||||||||||
|---|---|---|---|---|---|---|---|---|---|---|---|---|---|---|---|---|---|---|
![]() |
![]() LM3224MM-ADJ/NOPB |
![]() National Semiconductor (TI) |
![]() DC/DC Switching Controllers STEP-UP PWM DC/DC CONVERTER |
![]() Data Sheet |
![]()
|
|
||||||||||||
![]() |
![]() LM3224MM-ADJEV |
![]() National Semiconductor (TI) |
![]() Power Management IC Development Tools LM3224 EVAL BOARD |
![]() Data Sheet |
![]()
|
|
||||||||||||
![]() |
![]() LM3224MM-ADJEV/NOPB |
![]() National Semiconductor (TI) |
![]() Power Management IC Development Tools LM3224 EVAL BOARD |
![]() Data Sheet |
![]()
|
|
||||||||||||
(Hong Kong)










