Product Summary
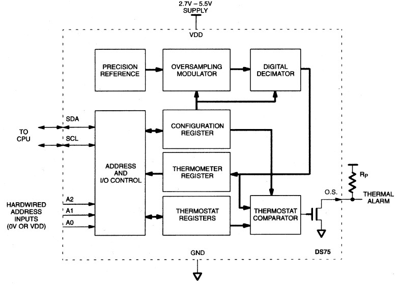
The DS75S+ 2-wire thermal watchdog provides 9-bit temperature readings which indicate the temperature of the device. Thermostat settings and temperature readings are all communicated to/from the DS75S+ over a simple 2-wire serial interface. No additional components are required; the device is truly a temperature-to-digital converter. The DS75S+ has three address bits that allow a user to multidrop up to eight sensors along the 2-wire bus, greatly simplifying the bussing of distributed temperature sensing networks. The open-drain thermal alarm output, O.S., becomes active when the temperature of the device exceeds a user-defined temperature TOS. The number of consecutive faults required to set O.S. active is configurable by the user. The device can also be configured in the interrupt or comparator mode, to customize the method which clears the fault condition.
Parametrics
DS75S+ absolute maximum ratings: (1)Voltage on VDD, Relative to Ground: -0.3V to +7.0V; (2)Voltage on any other pin, Relative to Ground: -0.3V to (V DD + 0.3V); (3)Operating Temperature: -55℃ to +125℃; (4)Storage Temperature: -55℃ to +125℃; (5)Soldering Temperature: 260℃ for 10 seconds.
Features
DS75S+ features: (1)Temperature measurements require no external components; (2)Measures temperatures from -55℃ to +125℃. Fahrenheit equivalent is -67°F to +257°F; (3)Thermometer accuracy is ±2.0℃; (4)Thermometer resolution is configurable from nine (default) to 12 bits (0.5℃ to 0.0625℃ resolution); (5)9–bit readout mode features a max conversion time of 150 ms; (6)Thermostatic settings are user definable; (7)Data is read from/written via a 2-wire serial interface. (open drain I/O lines). 3–bit addressability; (8)Wide power supply range (2.7V - 5.5V).
Diagrams

| Image | Part No | Mfg | Description | ![]() |
Pricing (USD) |
Quantity | ||||||||||||
|---|---|---|---|---|---|---|---|---|---|---|---|---|---|---|---|---|---|---|
![]() |
![]() DS75S+ |
![]() Maxim Integrated Products |
![]() Board Mount Temperature Sensors Digital |
![]() Data Sheet |
![]()
|
|
||||||||||||
![]() |
![]() DS75S+/ |
![]() Maxim Integrated Products |
![]() Board Mount Temperature Sensors |
![]() Data Sheet |
![]() Negotiable |
|
||||||||||||
![]() |
![]() DS75S+T&R |
![]() Maxim Integrated Products |
![]() Board Mount Temperature Sensors Digital |
![]() Data Sheet |
![]()
|
|
||||||||||||
![]() |
![]() DS75S+T&R/ |
![]() Maxim Integrated Products |
![]() Board Mount Temperature Sensors |
![]() Data Sheet |
![]() Negotiable |
|
||||||||||||
(Hong Kong)











