Product Summary
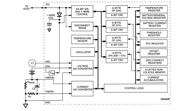
The DS2438Z is a Smart Battery Monitor which provides several functions that are desirable to carry in a battery pack: a means of tagging a battery pack with a unique serial number, a direct-to-digital temperature sensor which eliminates the need for thermistors in the battery pack, an A/D converter which measures the battery voltage and current, an integrated current accumulator which keeps a running total of all current going into and out of the battery, an elapsed time meter, and 40 bytes of nonvolatile EEPROM memory for storage of important parameters such as battery chemistry, battery capacity, charging methodology and assembly date. Information is sent to/from the DS2438Z over a 1-Wire interface, so that only one wire (and ground) needs to be connected from a central microprocessor to a DS2438Z. This means that battery packs need only have three output connectors: battery power, ground, and the 1-Wire interface.
Parametrics
DS2438Z absolute maximum ratings: (1)Voltage on VDD and VAD, Relative to : -0.3V to + 12V; (2)Voltage on VSENS+, VSENS-, Relative to Ground: <±300 mV; (3)Voltage on Any Pin Relative to Ground: -0.3V to + 7.0V; (4)Operating Temperature: -40℃ to +85℃; (5)Storage Temperature: -55℃ to +125℃.
Features
DS2438Z features: (1)Unique 1-Wire interface requires only one port pin for communication; (2)Provides unique 64-bit serial number to battery packs; (3)Eliminates thermistors by sensing battery temperature on-chip; (4)On-board A/D converter allows monitoring of battery voltage for end-of-charge and endof-discharge determination; (5)On-board integrated current accumulator facilitates fuel gauging; (6)Elapsed time meter in binary format; (7)40-byte nonvolatile user memory available for storage of battery-specific data; (8)Operating range -40℃ to +85℃; (9)Applications include portable computers, portable/cellular phones, consumer electronics, and handheld instrumentation.
Diagrams

| Image | Part No | Mfg | Description | ![]() |
Pricing (USD) |
Quantity | ||||||||||||
|---|---|---|---|---|---|---|---|---|---|---|---|---|---|---|---|---|---|---|
![]() |
![]() DS2438Z |
![]() |
![]() IC MONITOR SMART BATTERY 8-SOIC |
![]() Data Sheet |
![]() Negotiable |
|
||||||||||||
![]() |
![]() DS2438Z/T&R |
![]() |
![]() IC MONITOR SMART BATTERY 8-SOIC |
![]() Data Sheet |
![]() Negotiable |
|
||||||||||||
![]() |
![]() DS2438Z+T&R |
![]() Maxim Integrated Products |
![]() Battery Management Smart Battery Monitor |
![]() Data Sheet |
![]()
|
|
||||||||||||
![]() |
![]() DS2438Z-C02 |
![]() Maxim Integrated Products |
![]() Battery Management |
![]() Data Sheet |
![]() Negotiable |
|
||||||||||||
![]() |
![]() DS2438Z+ |
![]() Maxim Integrated Products |
![]() Battery Management Smart Battery Monitor |
![]() Data Sheet |
![]()
|
|
||||||||||||
(Hong Kong)











