Product Summary
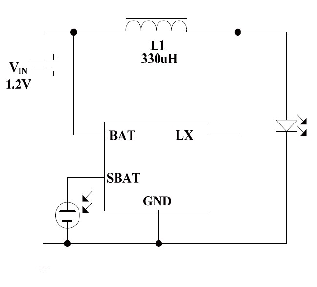
The CL0116 is a solar LED lamp controller with one battery, in which solar-charging and LED-driving sections are included: the former can help to detect voltage on the solar cell, control the charging process and prevent the reversely charging from battery to solar cell etc; the later has the functions of detecting status of battery, producing 100KHz pulse-train, being in standby mode manually and limiting the peak driving current etc. Only an external inductor is needed to construct a booster-type switching power supply with over 90% of charging efficiency and driving efficiency. The CL0116 has the advantages of high efficiency, low power dissipation, low minimum operating voltage 0.8V and realizing the charging and LED-driving functions automatically etc.
Parametrics
CL0116 absolute maximum ratings: (1)VMAX Maximum voltage of each pin: 5 V; (2)IMAX LX maximum current: 0.8 A; (3)TOPR Operation Junction Temperature Range: -40~+125 ℃; (4)TSTG Storage Temperature: -60~+150 ℃; (5)VESD ESD Susceptibility: 2000 V.
Features
CL0116 features: (1)Only an external inductor; (2)Operating range is 0.8V~3.0V; (3)Driving current is10mA~100mA; (4)Maximum driving efficiency is 90 %; (5)Package TO94.
Diagrams

(Hong Kong)






