Product Summary
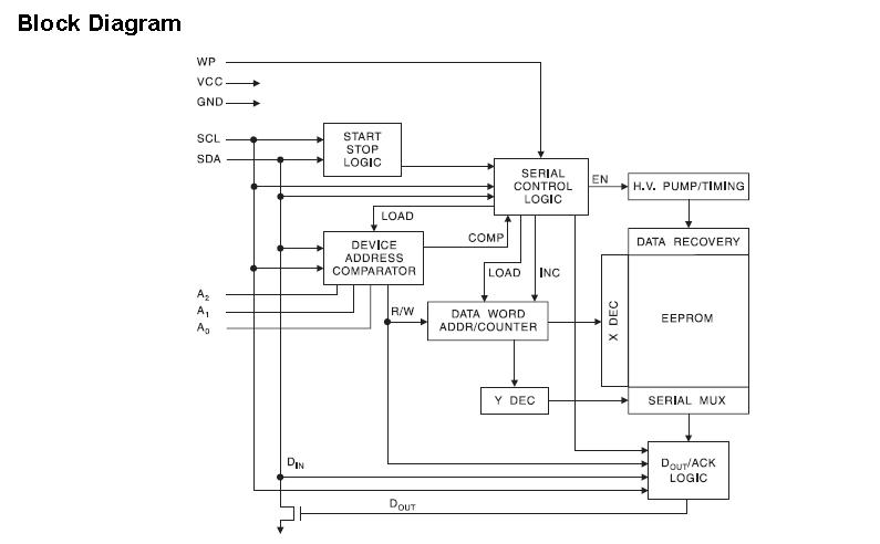
The AT24C64D-SSHM-T Serial Electrically Erasable and Programmable Read-Only Memory (EEPROM) organized as 512/1024 words of eight bits each. The AT24C64D-SSHM-T is optimized for use in many industrial and commercial applications where low-power and low-voltage operation are essential. The AT24C64D-SSHM-T is available in space-saving 8-lead PDIP, 8-lead JEDEC SOIC, 8-lead TSSOP, 8-pad UDFN, 5-lead SOT23, and 8-ball VFBGA packages and is accessed via a 2-wire serial interface.
Parametrics
AT24C64D-SSHM-T absolute maximum ratings: (1)Operating Temperature : –55°C to +125°C; (2)Storage Temperature : –65°C to +150°C; (3)Voltage on any pin with respect to ground : –1.0V to +7.0V; (4)Maximum Operating Voltage: 6.25V; (5)DC Output Current: 5.0mA.
Features
AT24C64D-SSHM-T features: (1)Low-voltage and standard-voltage operation; (2)VCC = 1.8V to 5.5V; (3)Internally organized as 512 x 8 (4K), or 1024 x 8 (8K); (4)I2C-compatible (2-wire)seriainterface; (5)Schmitt Trigger, filtered inputs for noise suppression; (6)Bidirectionadata transfer protocol; (7)1MHz (2.5V, 2.7V, 5V), 400kHz (1.7V)compatibility; (8)Write Protect pin for hardware data protection; (9)16-byte Page Write mode; (10)Partiapage writes allowed; (11)Self-timed write cycle (5ms max); (12)High-reliability; (13)Endurance: 1 million write cycles; (14)Data retention: 100 years; (15)Green package options (Pb/Halide-free/RoHS compliant); (16)8-lead PDIP, 8-lead SOIC, 8-lead TSSOP, 8-pad UDFN, 5-lead SOT23, and 8-balVFBGA; (17)Die options: wafer form and tape and reel.
Diagrams

| Image | Part No | Mfg | Description | ![]() |
Pricing (USD) |
Quantity | ||||||||||||
|---|---|---|---|---|---|---|---|---|---|---|---|---|---|---|---|---|---|---|
![]() |
![]() AT24C64D-SSHM-T |
![]() Atmel |
![]() EEPROM SERIAL EEPROM 64K 2-WIRE 1.7V |
![]() Data Sheet |
![]()
|
|
||||||||||||
| Image | Part No | Mfg | Description | ![]() |
Pricing (USD) |
Quantity | ||||||||||||
![]() |
![]() AT24C |
![]() Other |
![]() |
![]() Data Sheet |
![]() Negotiable |
|
||||||||||||
![]() |
![]() AT24C01 |
![]() Other |
![]() |
![]() Data Sheet |
![]() Negotiable |
|
||||||||||||
![]() |
![]() AT24C01-10PC |
![]() Atmel |
![]() IC SEEPROM 1K 8DIP |
![]() Data Sheet |
![]() Negotiable |
|
||||||||||||
![]() |
![]() AT24C01-10PC-1.8 |
![]() Atmel |
![]() IC SEEPROM 1K 1.8V 8DIP |
![]() Data Sheet |
![]() Negotiable |
|
||||||||||||
![]() |
![]() AT24C01-10PC-2.5 |
![]() Atmel |
![]() IC SEEPROM 1K 2.5V 8DIP |
![]() Data Sheet |
![]() Negotiable |
|
||||||||||||
![]() |
![]() AT24C01-10PC-2.7 |
![]() Atmel |
![]() IC SEEPROM 1K 2.7V 8DIP |
![]() Data Sheet |
![]() Negotiable |
|
||||||||||||
(Hong Kong)











