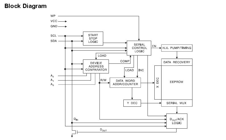
Product Summary
The AT24C32AN-10SU2.7 Serial Electrically Erasable and Programmable Read-Only Memory (EEPROM) organized as 512/1024 words of eight bits each. The AT24C32AN-10SU2.7 is optimized for use in many industrial and commercial applications where low-power and low-voltage operation are essential. The AT24C32AN-10SU2.7 is available in space-saving 8-lead PDIP, 8-lead JEDEC SOIC, 8-lead TSSOP, 8-pad UDFN, 5-lead SOT23, and 8-ball VFBGA packages and is accessed via a 2-wire serial interface.
Parametrics
AT24C32AN-10SU2.7 absolute maximum ratings: (1)Operating temperature: -55° C to +125°C; (2)Storage Temperature:-65° C to +150°C; (3)Voltage on Any Pin with Respect to Ground:-1.0V to +7.0V; (4)Maximum Operating Voltage:6.25V;(5)DC Output Current:5.0mA.
Features
AT24C32AN-10SU2.7 features: (1)Low-Voltage and Standard-Voltage Operation: VCC = 1.8V to 5.5V; (2)Low-Power Devices (ISB = 6 uA @ 5.5V) Available; (3)Internally Organized 4096 x 8, 8192 x 8; (4)2-Wire Serial Interface; (5)Schmitt Trigger, Filtered Inputs for Noise Suppression; (6)Bidirectional Data Transfer Protocol; (7)100 kHz (1.8V) and 400 kHz (2.5V) Clock Rate; (8)400 kHz (1.8V) Clock Rate for AT24C64A; (9)Write Protect Pin for Hardware Data Protection; (10)32-Byte Page Write Mode (Partial Page Writes Allowed); (11)Self-Timed Write Cycle (5 ms Max).
Diagrams

(Hong Kong)






