Product Summary
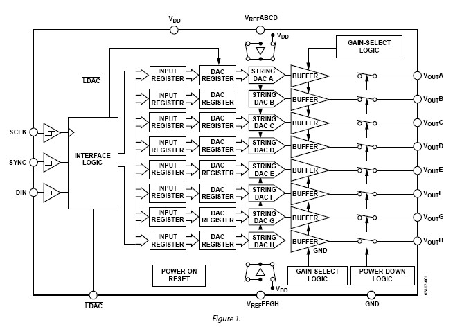
The AD5328BRUZ is a Digital-to-Analog Converter. The AD5328BRUZ is an octal 8-, 10-, and 12-bit buffered voltage output DACs in a 16-lead TSSOP. The AD5328BRUZ operates from a single 2.5 V to 5.5 V supply, consuming 0.7 mA typical at 3 V. Their on-chip output amplifiers allow the outputs to swing rail-to-rail with a slew rate of 0.7 V/μs. The AD5328BRUZ uses a versatile 3-wire serial interface that operates at clock rates up to 30 MHz and is compatible with standard SPI, QSPI, MICROWIRE, and DSP interface standards. The applications of the AD5328BRUZ include Portable battery-powered instruments, Digital gain and offset adjustment, Programmable voltage and current sources, Optical networking, Automatic test equipment, Mobile communications, Programmable attenuators and Industrial process control.
Parametrics
AD5328BRUZ absolute maximum ratings: (1)VDD to GND: -0.3 V to +7 V; (2)Digital Input Voltage to GND: -0.3 V to VDD + 0.3 V; (3)Reference Input Voltage to GND: -0.3 V to VDD + 0.3 V; (4)VOUTA–VOUTD to GND: -0.3 V to VDD + 0.3 V; (5)Operating Temperature Range Industrial (A, B Version): -40℃ to +125℃; (6)Storage Temperature Range: -65℃ to +150℃; (7)Junction Temperature (TJ MAX): 150℃.
Features
AD5328BRUZ features: (1)Low power operation: 0.7 mA @ 3 V; (2)Guaranteed monotonic by design over all codes; (3)Power-down to 120 nA @ 3 V, 400 nA @ 5 V; (4)Double-buffered input logic; (5)Buffered/unbuffered/VDD reference input options; (6)Output range: 0 V to VREF or 0 V to 2 VREF; (7)Power-on reset to 0 V; (8)On-chip rail-to-rail output buffer amplifiers; (9)Temperature range: -40℃ to +125℃; (10)Qualified for automotive applications.
Diagrams

| Image | Part No | Mfg | Description | ![]() |
Pricing (USD) |
Quantity | ||||||||||||||||
|---|---|---|---|---|---|---|---|---|---|---|---|---|---|---|---|---|---|---|---|---|---|---|
![]() |
![]() AD5328BRUZ |
![]() |
![]() IC DAC 12BIT 2.5V OCTAL 16-TSSOP |
![]() Data Sheet |
![]()
|
|
||||||||||||||||
![]() |
![]() AD5328BRUZ-REEL |
![]() |
![]() IC DAC 12BIT OCTAL BUFF 16TSSOP |
![]() Data Sheet |
![]()
|
|
||||||||||||||||
![]() |
![]() AD5328BRUZ-REEL7 |
![]() |
![]() IC DAC 12BIT OCTAL BUFF 16TSSOP |
![]() Data Sheet |
![]()
|
|
||||||||||||||||
(Hong Kong)









